EasyManua.ls Logo

Brunswick Sync - PINSETTER AREA; Peripheral Controller

Brunswick Sync
72 pages
Print Icon
To Next Page IconTo Next Page
To Next Page IconTo Next Page
To Previous Page IconTo Previous Page
To Previous Page IconTo Previous Page
Loading...
Sync Pre-Installation 27
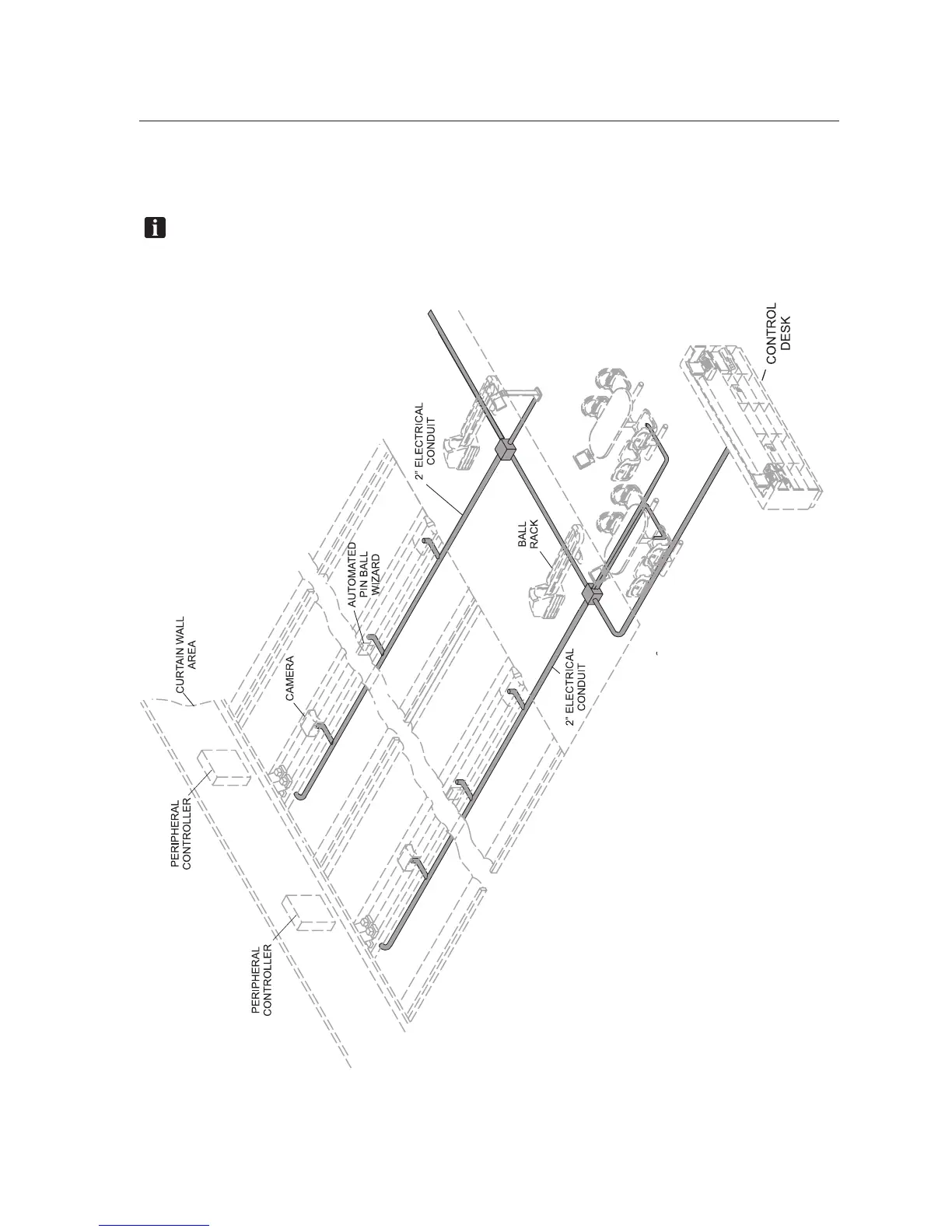
Conduit
LOCATION IN FLOOR
The illustration below shows a typical conduit network to accommodate all cables in the system. The
conduit sizes shown apply to all scoring systems.
NOTE: Iflocalcoderequireslowvoltageelectricaltobeinsideconduit,allconduitmustbe
ELECTRICAL CONDUIT NOT plumbing/waterconduit.

Table of Contents

Other manuals for Brunswick Sync

Related product manuals