EasyManua.ls Logo

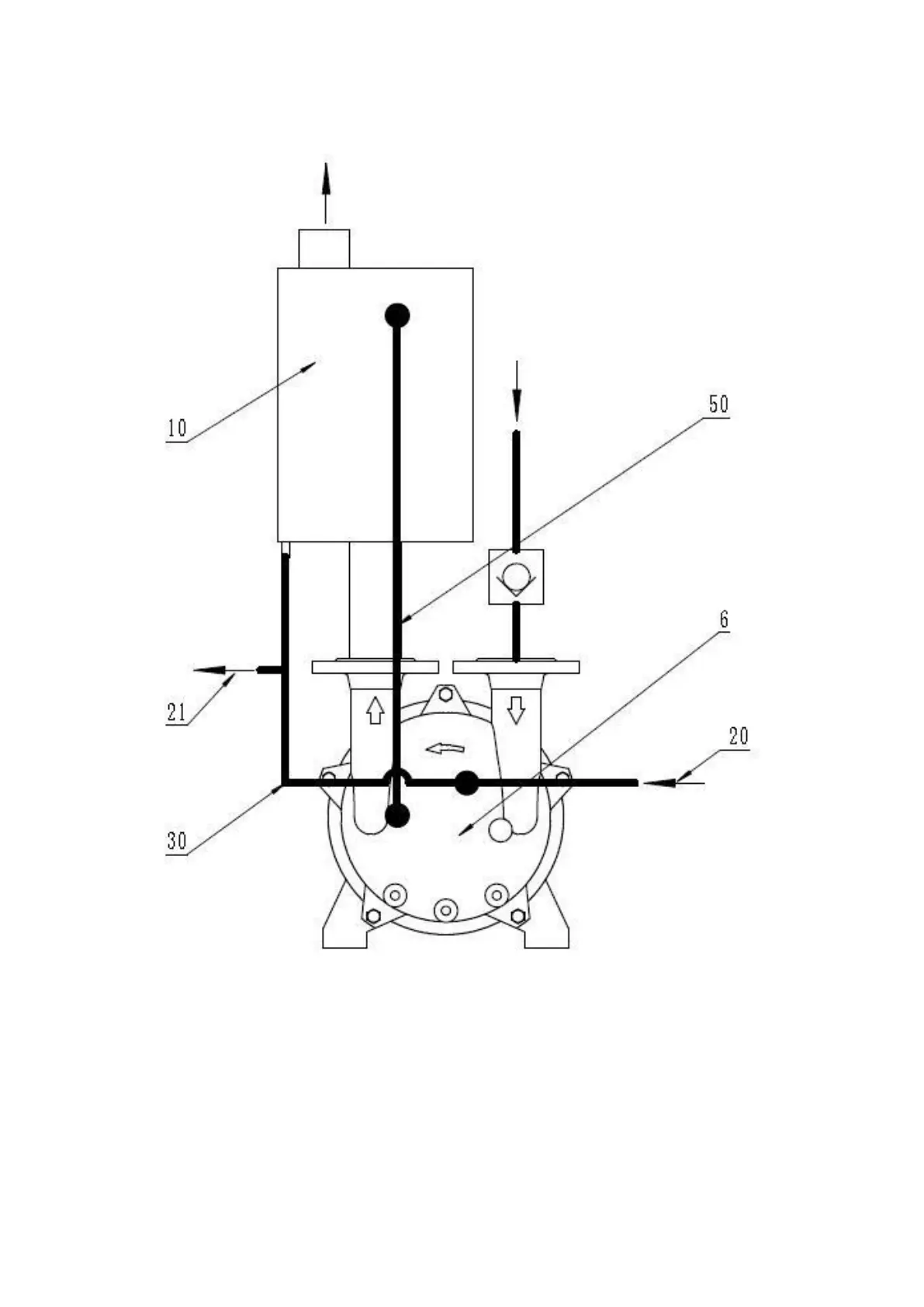
BTS 2BV - Рисунок 4. Вакуумный Насос С Сепаратором И Защитой От Кавитации

BTS 2BV
Print Icon
To Next Page IconTo Next Page
To Next Page IconTo Next Page
To Previous Page IconTo Previous Page
To Previous Page IconTo Previous Page
Loading...
- 20 -
Рисунок 4. Вакуумный насос с сепаратором и защитой от
кавитации
6) вакуумный насос; 10) сепаратор; 20) подача рабочей жидкости; 21) слив рабочей
жидкости; 30) линия циркуляции рабочей жидкости; 50) линия защиты от кавитации.

Table of Contents