EasyManua.ls Logo

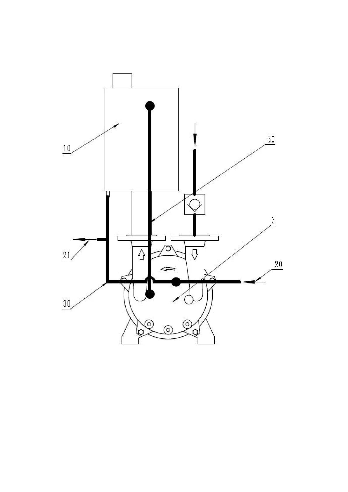
BTS 2BV - Rysunek 4. Pompa Próżniowa Z Separatorem I Zabezpieczeniem Kawitacyjnym

BTS 2BV
Print Icon
To Next Page IconTo Next Page
To Next Page IconTo Next Page
To Previous Page IconTo Previous Page
To Previous Page IconTo Previous Page
Loading...
-20-
Rysunek 4: Pompa próżniowa z separatorem i zabezpieczeniem
przed kawitacją
6) pompa próżniowa; 10) separator; 20) zasilanie cieczą roboczą; 21) spust cieczy roboczej; 30)
przewód cyrkulacji cieczy roboczej; 50) przewód zabezpieczający przed kawitacją.

Table of Contents