EasyManua.ls Logo

Burnham ALPINE - Page 47

Burnham ALPINE
132 pages
Print Icon
To Next Page IconTo Next Page
To Next Page IconTo Next Page
To Previous Page IconTo Previous Page
To Previous Page IconTo Previous Page
Loading...
47
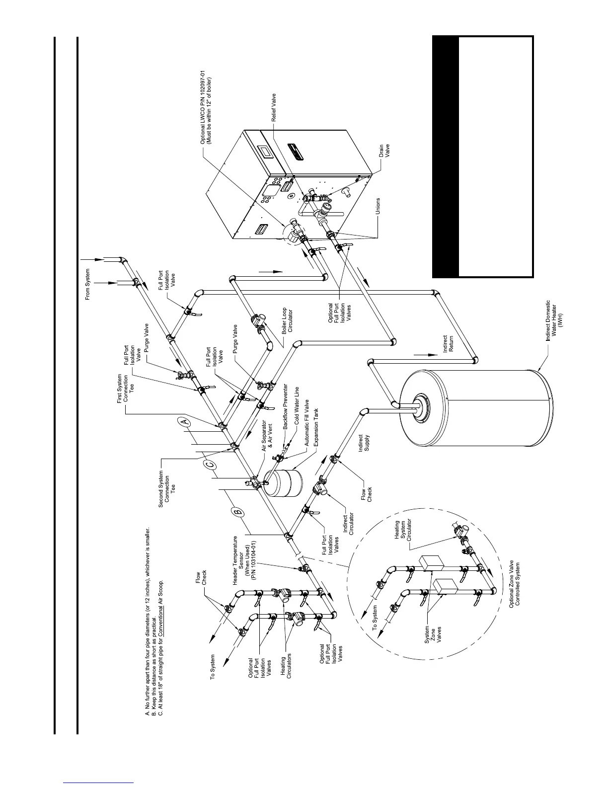
Figure 32: Near Boiler Piping - Heating Plus Indirect Water Heater
VI. Water Piping and Trim (continued)
CAUTION
It is the installers responsibility to select pumps
and boiler piping congurations that provide the
proper ow rates and performance for the boiler
and indirect water heater.
Refer to Table 12 for recommended Boiler Loop
Circulator.

Other manuals for Burnham ALPINE

Related product manuals