EasyManua.ls Logo

Cadel nice - INSTALLATION EXAMPLES AND FUEL GUIDELINES; Flammable Material Clearance; Correct Chimney Flue Installation Examples

Cadel nice
76 pages
Print Icon
To Next Page IconTo Next Page
To Next Page IconTo Next Page
To Previous Page IconTo Previous Page
To Previous Page IconTo Previous Page
Loading...
10
NICE - MIRIAM - CRISTAL - PRETTY - KRISS - MARY - TECNA - EVO
EN
top.
It is forbidden to connect any other appliance (wood stoves, cooker hoods, boilers, etc...).
The fume conduit must be placed at a distance of minimum 500 mm from ammable or heat-susceptible
components.
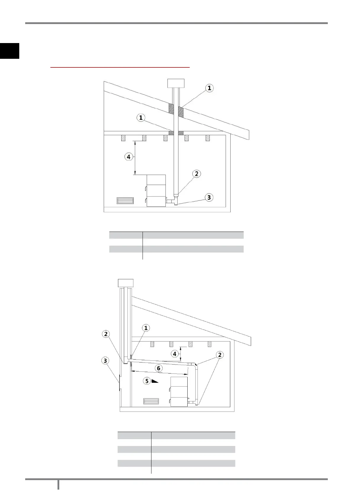
8.10 EXAMPLES OF CORRECT INSTALLATION
Fig. 8 - Example 1
LEGEND Fig. 8 page 10
1 Insulating material
2 Reduction from Ø100 to Ø80 mm
3 Inspection plug
4 Minimum safety distance = 0,5 mt
Chimney ue installation Ø120 mm with an enlarged drilling for pipe transit.
Fig. 9 - Example 2
LEGEND Fig. 9 page 10
1 Insulating material
2 Inspection plug
3 Chimney inspection entrance
4 Minimum safety distance = 0,5 mt
5 Inclination ≥ 3°
6 Level section ≤ 1 mt

Table of Contents

Other manuals for Cadel nice

Related product manuals