EasyManua.ls Logo

Canon EOS 50 E - Mirror Box Disassembly-2

Canon EOS 50 E
207 pages
Print Icon
To Next Page IconTo Next Page
To Next Page IconTo Next Page
To Previous Page IconTo Previous Page
To Previous Page IconTo Previous Page
Loading...
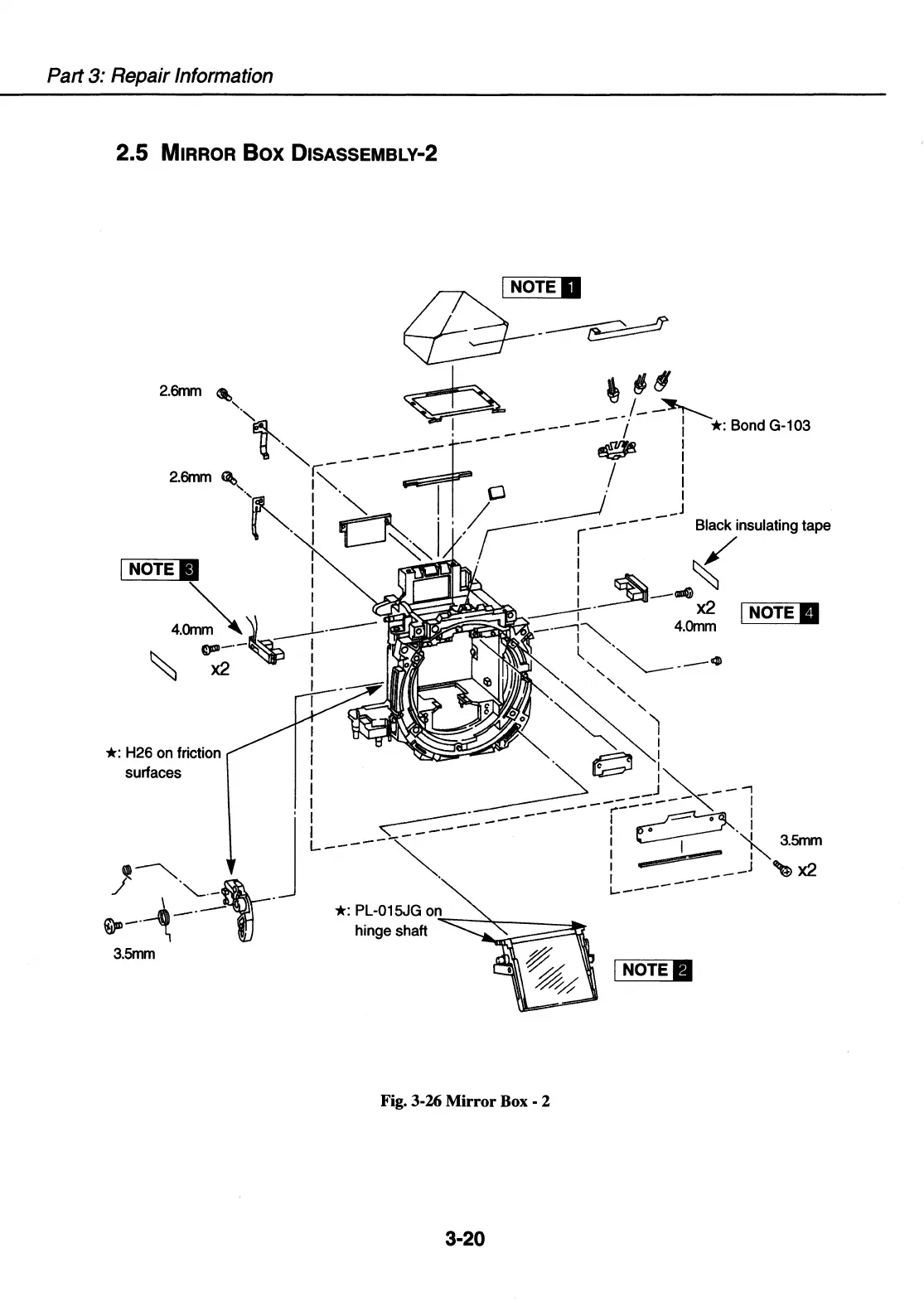
Part 3: Repair Information
2.5
MIRROR
Box
DISASSEMBLY-2
3.5mm
I
NOTE
Fig. 3-26 Mirror Box - 2
3-20

Table of Contents

Related product manuals