EasyManua.ls Logo

Canon EOS EOS 300D - Viewfinder Information

Canon EOS EOS 300D
141 pages
Print Icon
To Next Page IconTo Next Page
To Next Page IconTo Next Page
To Previous Page IconTo Previous Page
To Previous Page IconTo Previous Page
Loading...
13
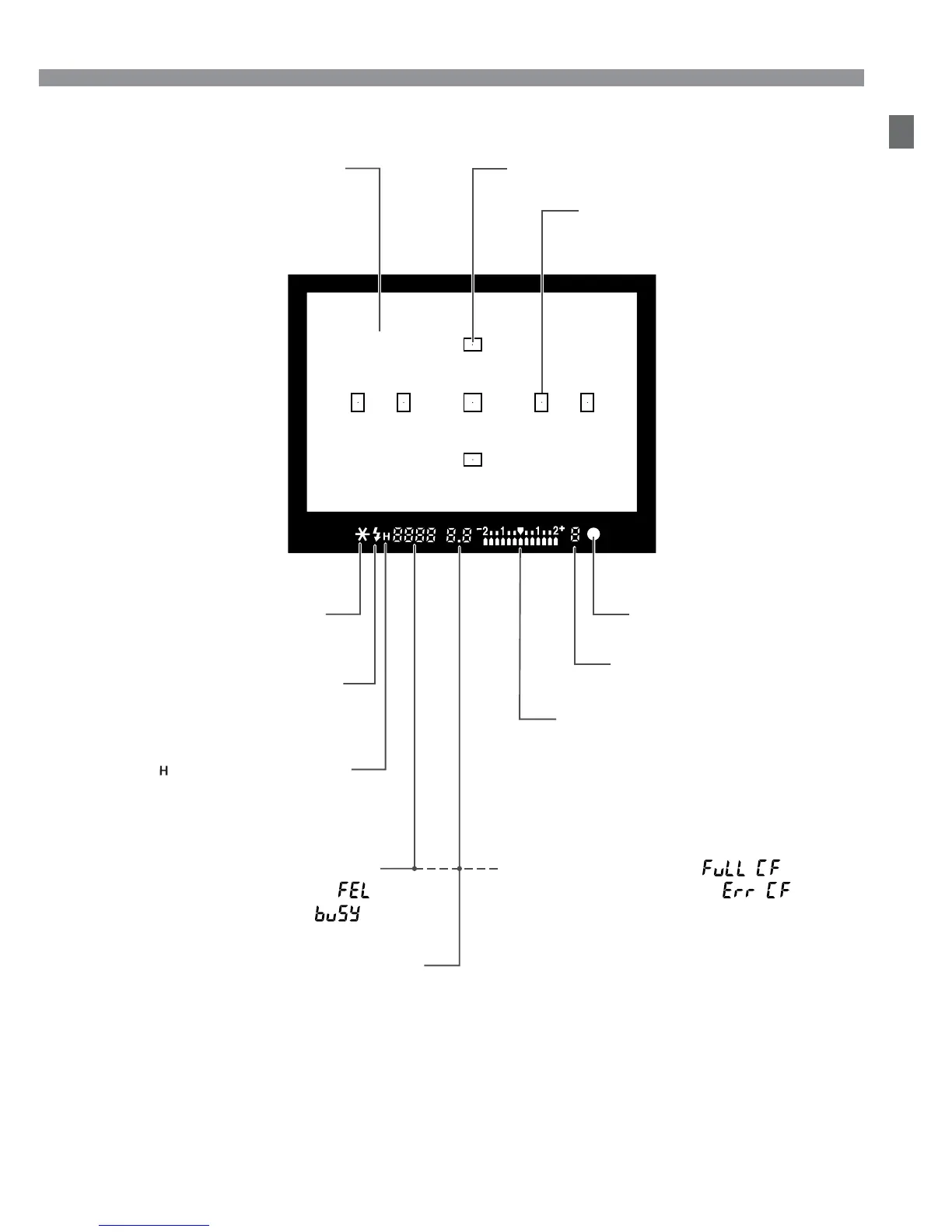
Viewfinder Information
Nomenclature
AF point display indicator
.
AF points
High-speed sync
(FP flash)
Exposure level indicator
Exposure compensation
amount
AEB level
Red-eye reduction lamp-on
indicator
Focusing screen
Shutter speed
FE lock ( )
Busy ( )
Aperture value
CF card full warning ( )
CF card error warning ( )
j
AE lock / FE lock
AEB in progress
MFlash-ready
Improper FE lock
warning
Maximum burst during
continuous shooting
nFocus confirmation
light

Table of Contents

Related product manuals