EasyManua.ls Logo

CAVRO XP 3000 - Figure 2-8. Printed Circuit Board Settings for Microstep-Enabled Firmware

CAVRO XP 3000
134 pages
Print Icon
To Next Page IconTo Next Page
To Next Page IconTo Next Page
To Previous Page IconTo Previous Page
To Previous Page IconTo Previous Page
Loading...
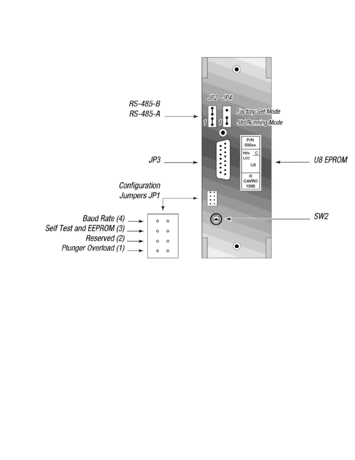
Hardware Setup 2-12
Figure 2-8 shows the printed circuit board settings for the microstep-enabled firmware.
Figure 2-8. Printed Circuit Board Settings for Microstep-Enabled Firmware

Table of Contents