EasyManua.ls Logo

Cisco 3200 - Page 190

Cisco 3200
282 pages
Print Icon
To Next Page IconTo Next Page
To Next Page IconTo Next Page
To Previous Page IconTo Previous Page
To Previous Page IconTo Previous Page
Loading...
10-8
Cisco TelePresence System 3200
OL-14521-01
Chapter 10 First-Time Setup
Setting Up CTS Components
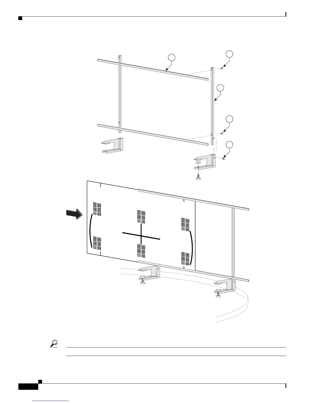
Figure 10-3 Camera Target Assembly
Step 2 Attach the large target to the underside of the center table section by placing the round pads on the
underside of the clamps into recesses that are drilled under the table.
Tip You can feel under the table to find the small round recesses.
6
6
6
5
4
201192

Table of Contents

Related product manuals