EasyManua.ls Logo

Cisco 3200 - Chapter 9 Routing Power and Signal Cables

Cisco 3200
282 pages
Print Icon
To Next Page IconTo Next Page
To Next Page IconTo Next Page
To Previous Page IconTo Previous Page
To Previous Page IconTo Previous Page
Loading...
6-5
Cisco TelePresence System 3200
OL-14521-01
Chapter 6 Building the First Row Table Assembly
Parts List
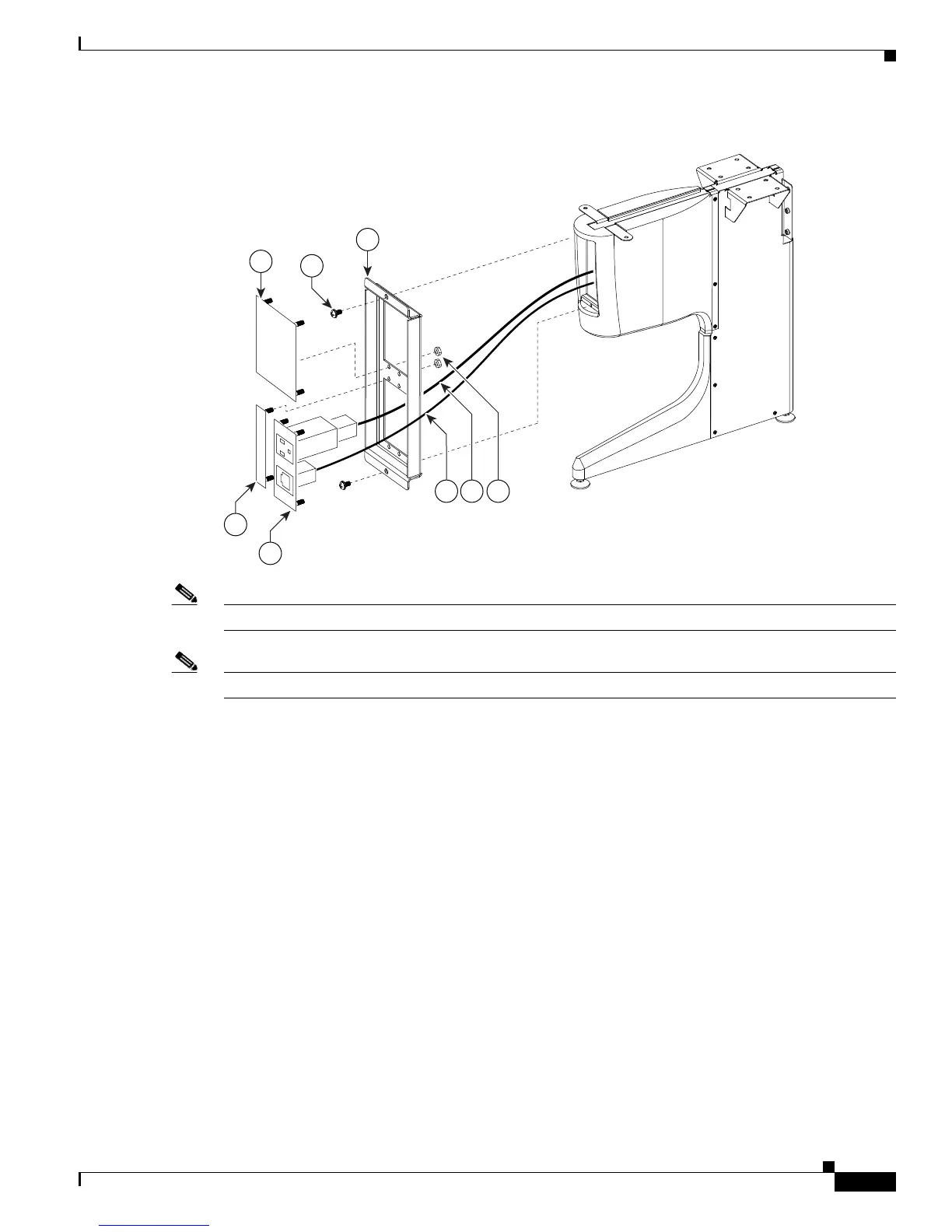
Figure 6-3 Foam Bumper Assembly
Note Steps for routing the Ethernet and power cables are in Chapter 9, “Routing Power and Signal Cables.
Note The flange on the I/O module cover place is wider on the bottom than on the top.
Step 4 Assemble the I/O modules for the inner molded foam bumpers.
204176
18
21
19
20
25
22 23 24

Table of Contents

Related product manuals