EasyManua.ls Logo

Cisco Nexus 9000 Series - Vendor-Specific Attributes

Cisco Nexus 9000 Series
562 pages
To Next Page IconTo Next Page
To Next Page IconTo Next Page
To Previous Page IconTo Previous Page
To Previous Page IconTo Previous Page
Loading...
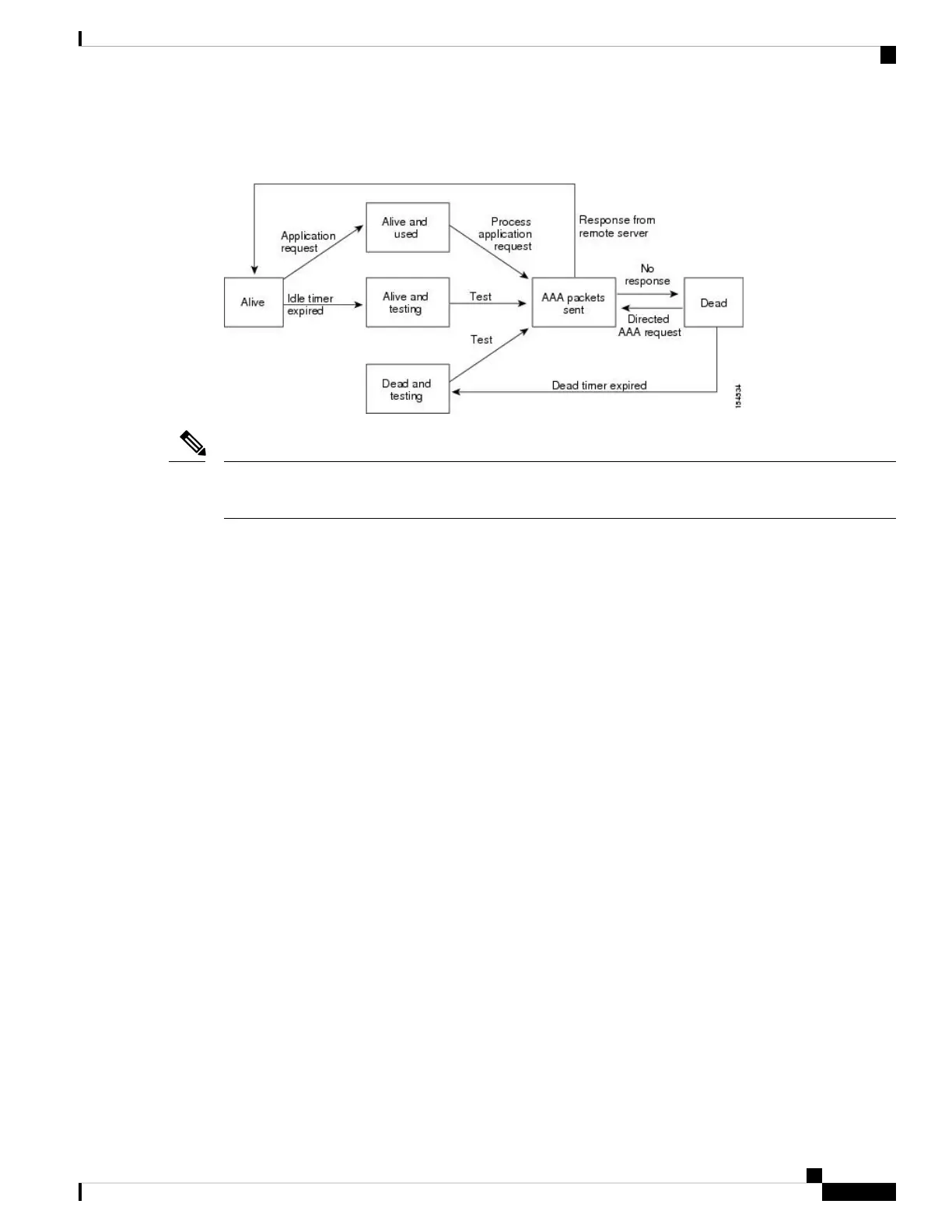
Figure 2: RADIUS Server States
This figure shows the states for RADIUS server monitoring.
The monitoring interval for alive servers and dead servers are different and can be configured by the user.
The RADIUS server monitoring is performed by sending a test authentication request to the RADIUS server.
Note
Vendor-Specific Attributes
The Internet Engineering Task Force (IETF) draft standard specifies a method for communicating VSAs
between the network access server and the RADIUS server. The IETF uses attribute 26. VSAs allow vendors
to support their own extended attributes that are not suitable for general use. The Cisco RADIUS implementation
supports one vendor-specific option using the format recommended in the specification. The Cisco vendor
ID is 9, and the supported option is vendor type 1, which is named cisco-av-pair. The value is a string with
the following format:
protocol : attribute separator value *
The protocol is a Cisco attribute for a particular type of authorization, the separator is = (equal sign) for
mandatory attributes, and * (asterisk) indicates optional attributes.
When you use RADIUS servers for authentication on a Cisco NX-OS device, the RADIUS protocol directs
the RADIUS server to return user attributes, such as authorization information, with authentication results.
This authorization information is specified through VSAs.
The following VSA protocol options are supported by the Cisco NX-OS software:
Shell
Protocol used in access-accept packets to provide user profile information.
Accounting
Protocol used in accounting-request packets. If a value contains any white spaces, you should enclose
the value within double quotation marks.
The Cisco NX-OS software supports the following attributes:
roles
Lists all the roles to which the user belongs. The value field is a string that lists the role names delimited
by white space. For example, if the user belongs to roles network-operator and network-admin, the value
field would be network-operator network-admin. This subattribute, which the RADIUS server sends in
Cisco Nexus 9000 Series NX-OS Security Configuration Guide, Release 9.x
41
Configuring RADIUS
Vendor-Specific Attributes

Table of Contents

Other manuals for Cisco Nexus 9000 Series

Related product manuals