EasyManua.ls Logo

CompAir Classic 05 - Page 71

CompAir Classic 05
95 pages
Print Icon
To Next Page IconTo Next Page
To Next Page IconTo Next Page
To Previous Page IconTo Previous Page
To Previous Page IconTo Previous Page
Loading...
Page 71
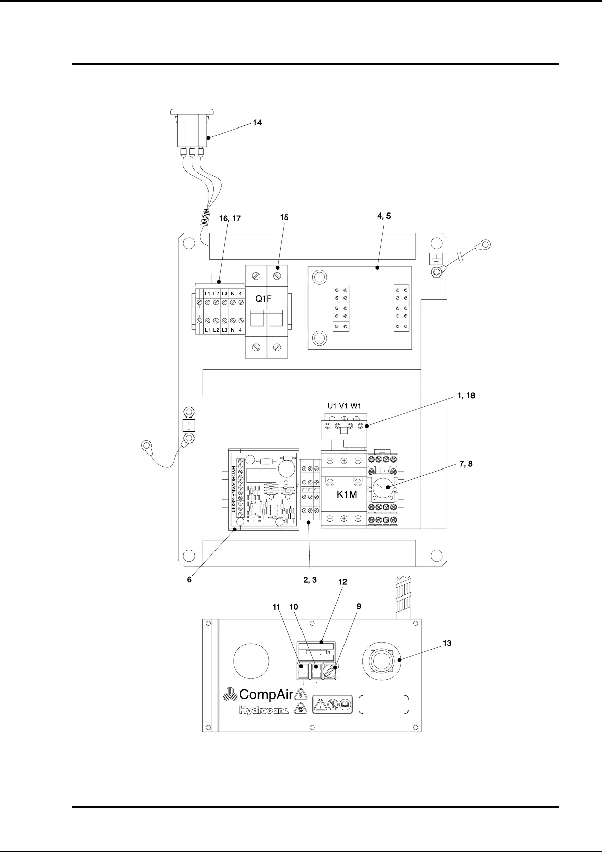
01 Single Phase (PUTS) Starter 3B
Figure 3B - 400V, 50Hz D.O.L. and 380/440V 60Hz Standard

Table of Contents

Related product manuals