EasyManua.ls Logo

CompAir Classic 05 - Page 79

CompAir Classic 05
95 pages
Print Icon
To Next Page IconTo Next Page
To Next Page IconTo Next Page
To Previous Page IconTo Previous Page
To Previous Page IconTo Previous Page
Loading...
Page 79
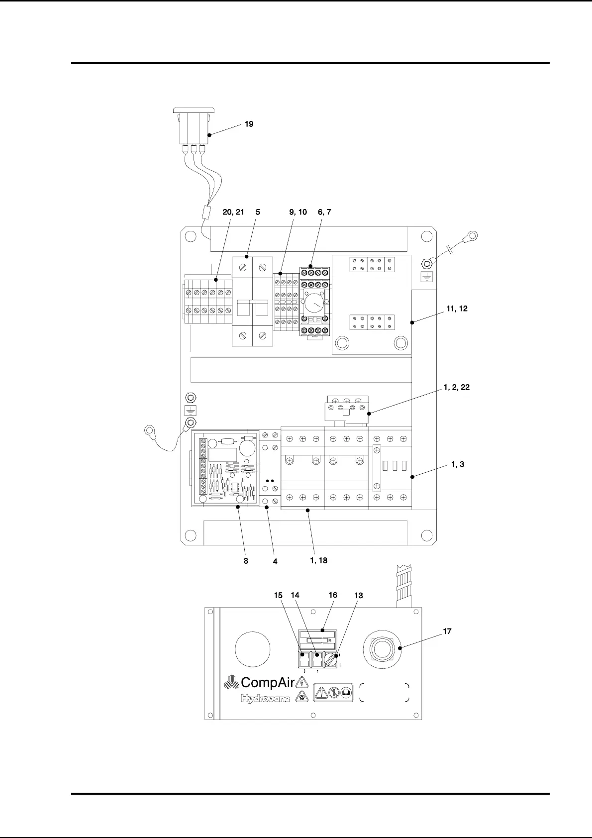
230V 50/60Hz Standard Control Starter 3F
Figure 3F - 230V, 50/60Hz Standard Control Starter

Table of Contents

Related product manuals