EasyManua.ls Logo

Daher TBM 900 - Page 160

Default Icon
996 pages
Print Icon
To Next Page IconTo Next Page
To Next Page IconTo Next Page
To Previous Page IconTo Previous Page
To Previous Page IconTo Previous Page
Loading...
Pilot's Operating Handbook
Section 3
Emergency procedures
EASA Approved
Edition 0 - October 31, 2013
Rev. 4
Page 3.9.12
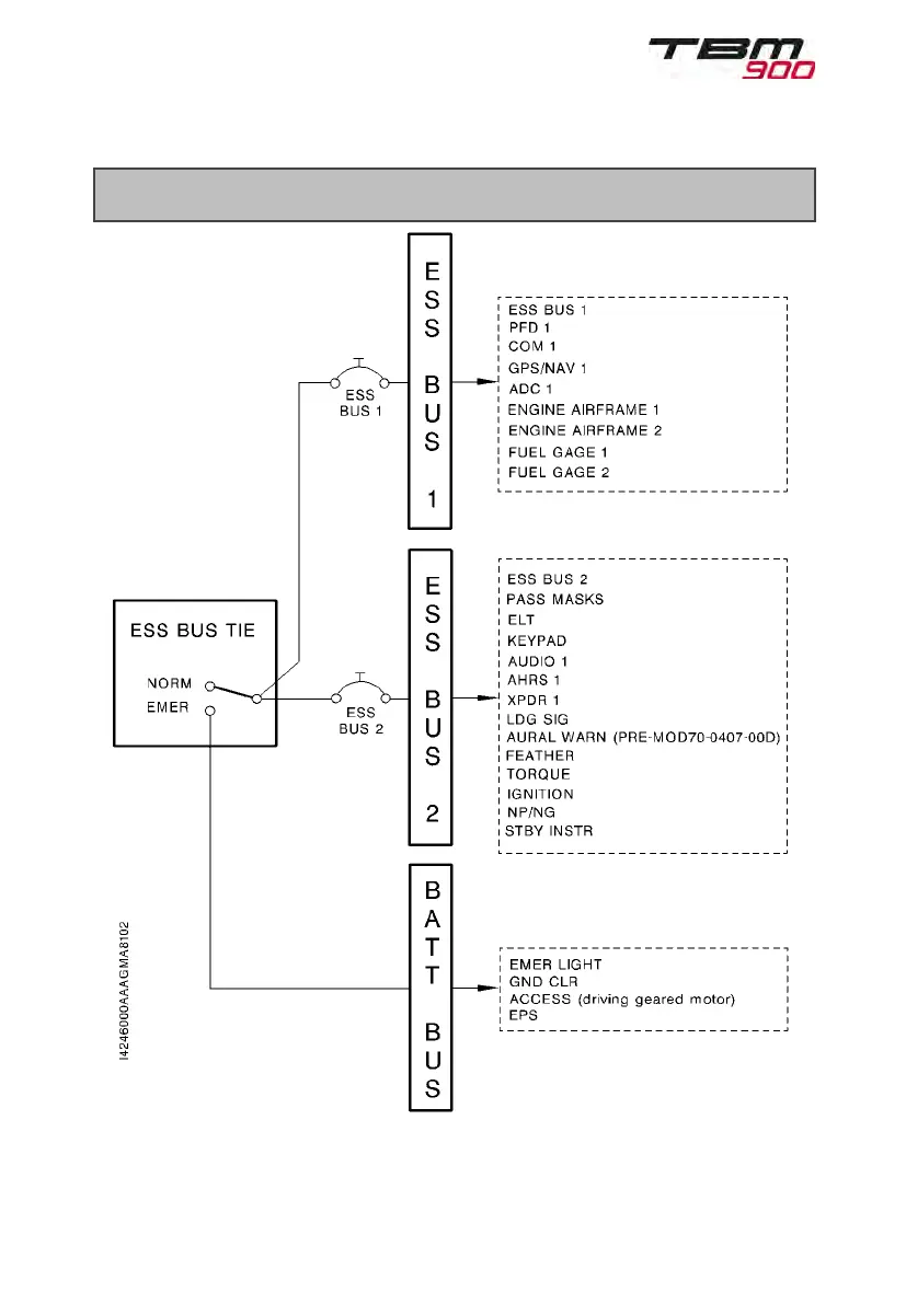
Bus bar 3/3
Figure 3.9.1 (3/3) - Electrical distribution of bus bars
PIM - DO NOT USE FOR FLIGHT OPERATIONS

Table of Contents

Related product manuals