EasyManua.ls Logo

DEV 1953 - Dev 11-0051

Default Icon
143 pages
Print Icon
To Next Page IconTo Next Page
To Next Page IconTo Next Page
To Previous Page IconTo Previous Page
To Previous Page IconTo Previous Page
Loading...
User Manual DEV 1953
16 Copyright DEV Systemtechnik GmbH 2015-2017
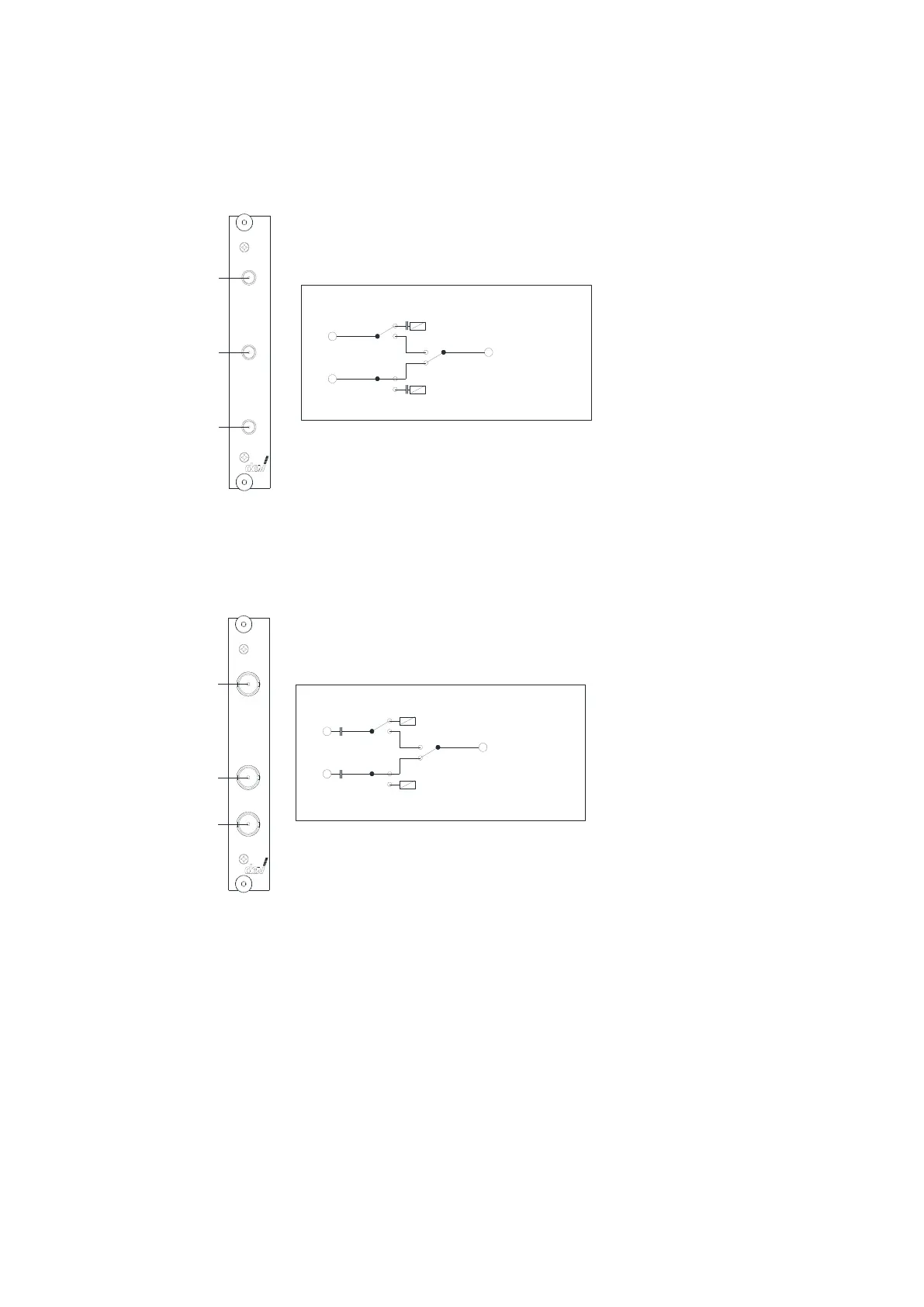
3.2.5 DEV 11-0051
DPST Switch Module; DC…2500 MHz; 50 Ohm, SMA (f)
In A
In B
Out
1
3
2
In A
Ou t
In B
DE V 11-0051
The common port ("Out") can be switched to one of two input/output ports ("In A",
"In B"). The unused input/output port is terminated internally. Latching relays are
used for switching.
3.2.6 DEV 11-0097
DPST Switch Module without Monitor Port; 47...1500 MHz; 75 Ohm, BNC (f)
In A
In B
Out
1
3
2
In B
Ou t
In A
DE V 11-0097
The functionality of the module DEV 11-0097 is identical with the module
DEV 11-0031 (please refer to chapter 3.2.3), but without a monitor port thus
enabling an extended frequency range.

Table of Contents

Related product manuals