EasyManua.ls Logo

DEV 1953 - Dev 11-0102

Default Icon
143 pages
Print Icon
To Next Page IconTo Next Page
To Next Page IconTo Next Page
To Previous Page IconTo Previous Page
To Previous Page IconTo Previous Page
Loading...
User Manual DEV 1953
Copyright DEV Systemtechnik GmbH 2015-2017 17
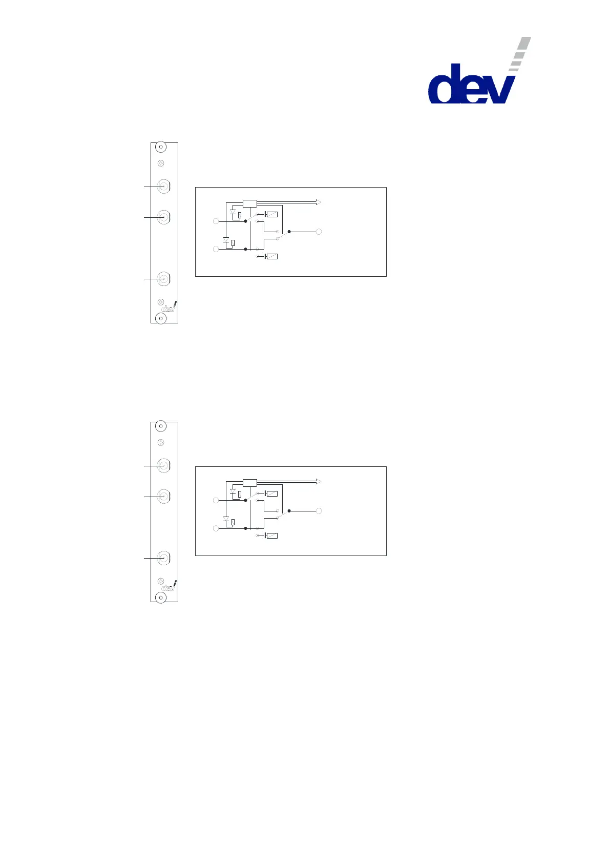
3.2.7 DEV 11-0102
DPST High Power Sensing Switch Module; DC, 950…2150 MHz; 75 Ohm, F (f)
Out
In A
In B
Logic
External
Controller
2
3
1
In A
Ou t
In B
DE V 11-0102
The functionality of the module DEV 11-0102 is identical with the module
DEV 11-0014 (please refer to chapter 3.2.1), but the module is designed for high
power signals and for 75 Ohm with F connectors (instead of 50 Ohm with SMA
connectors).
3.2.8 DEV 11-0105
DPST High Power Sensing Switch Module; DC, 47…1006 MHz; 75 Ohm, F (f)
Out
In A
In B
Logic
External
Controller
2
3
1
In A
Ou t
In B
DE V 11-0105
The functionality of the module DEV 11-0105 is identical with the module
DEV 11-0014 (please refer to chapter 3.2.1), but the module is designed for high
power signals, for a different frequency range, and for 75 Ohm with F connectors
(instead of 50 Ohm with SMA connectors).

Table of Contents

Related product manuals