EasyManua.ls Logo

Develop ineo+35 - Understanding the Media Path

Develop ineo+35
368 pages
Print Icon
To Next Page IconTo Next Page
To Next Page IconTo Next Page
To Previous Page IconTo Previous Page
To Previous Page IconTo Previous Page
Loading...
Understanding the Media Path 13-5
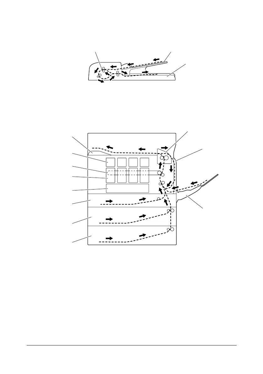
Understanding the Media Path
Understanding media path will help you locate media misfeeds
4 Fuser unit 10 Print head unit
5 Duplex 11 Imaging unit
6 Tray 1 (Manual feed tray) 12 Transfer belt unit
7 Tray 4 (optional lower feeder unit) 13 Toner cartridge
8 Tray 3 (optional lower feeder unit) 14 Output tray
9Tray 2
4
11
12
13
14
6
5
10
9
8
7
3
1 2
1 ADF media feed rollers
2 Document feed tray
3 Document output tray

Table of Contents

Related product manuals