EasyManua.ls Logo

DoAll C-4033NC - C-420 NC Dimensions

DoAll C-4033NC
45 pages
Print Icon
To Next Page IconTo Next Page
To Next Page IconTo Next Page
To Previous Page IconTo Previous Page
To Previous Page IconTo Previous Page
Loading...
9
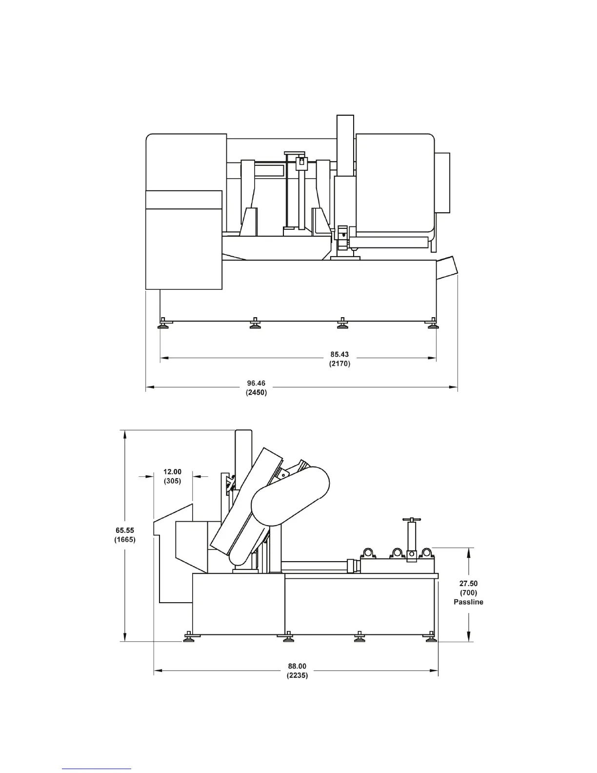
MACHINE DIMENSIONS (Continued…)
C-420NC DIMENSIONS

Related product manuals