EasyManua.ls Logo

Emerson Bettis XTE3000 - Interlock Inputs

Emerson Bettis XTE3000
175 pages
Print Icon
To Next Page IconTo Next Page
To Next Page IconTo Next Page
To Previous Page IconTo Previous Page
To Previous Page IconTo Previous Page
Loading...
Installation, Operation and Maintenance Manual
MAN-02-04-97-0713-EN Rev. 1
October 2019
33
Operating the XTE3000
Section 5: Operating the XTE3000
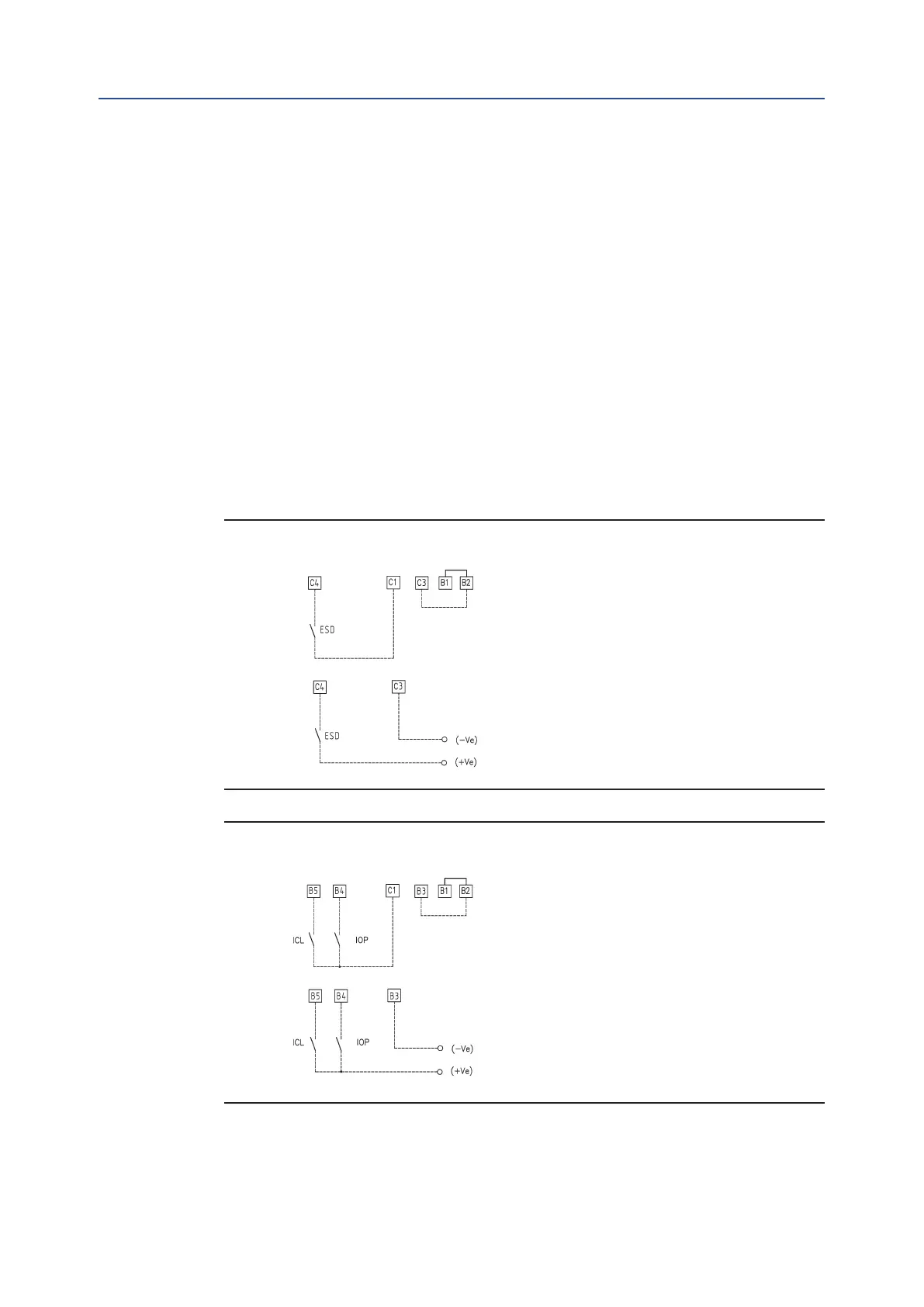
5.6.4 Interlock Inputs
Two additional inputs are available to inhibit actuator movement in the open or closed
direction. The controls are momentary, and the inhibiting action continues until the
relevant signal is present. The interlock controls work when the local selector is in either
LOCAL or REMOTE positions. The ESD control overrides the interlock controls. The “VIEW
and SET-UP” features can congure the polarity of INTERLOCK signal as described in
Section 9.1.10, Interlock Controls.
The interlock inputs are optically-isolated (opto-coupled) and can be supplied by the
internally generated 24 V DC or by an external 20-125 V DC or 20-120 V AC (50/60 Hz).
The signal levels are the following:
Minimum ON signal > 20 V DC or 20 V AC (50/60 Hz).
Maximum ON signal < 125 V DC or 120 V AC (50/60 Hz).
Maximum OFF signal < 3 V.
Total current drawn from remote controls < 20 mA.
Figure 39
Option D1)
Option D2)
Figure 40
Option E1)
Option E2)

Table of Contents

Other manuals for Emerson Bettis XTE3000

Related product manuals