EasyManua.ls Logo

Epson LX-810 - Page 82

Epson LX-810
176 pages
Print Icon
To Next Page IconTo Next Page
To Next Page IconTo Next Page
To Previous Page IconTo Previous Page
To Previous Page IconTo Previous Page
Loading...
REV.-A
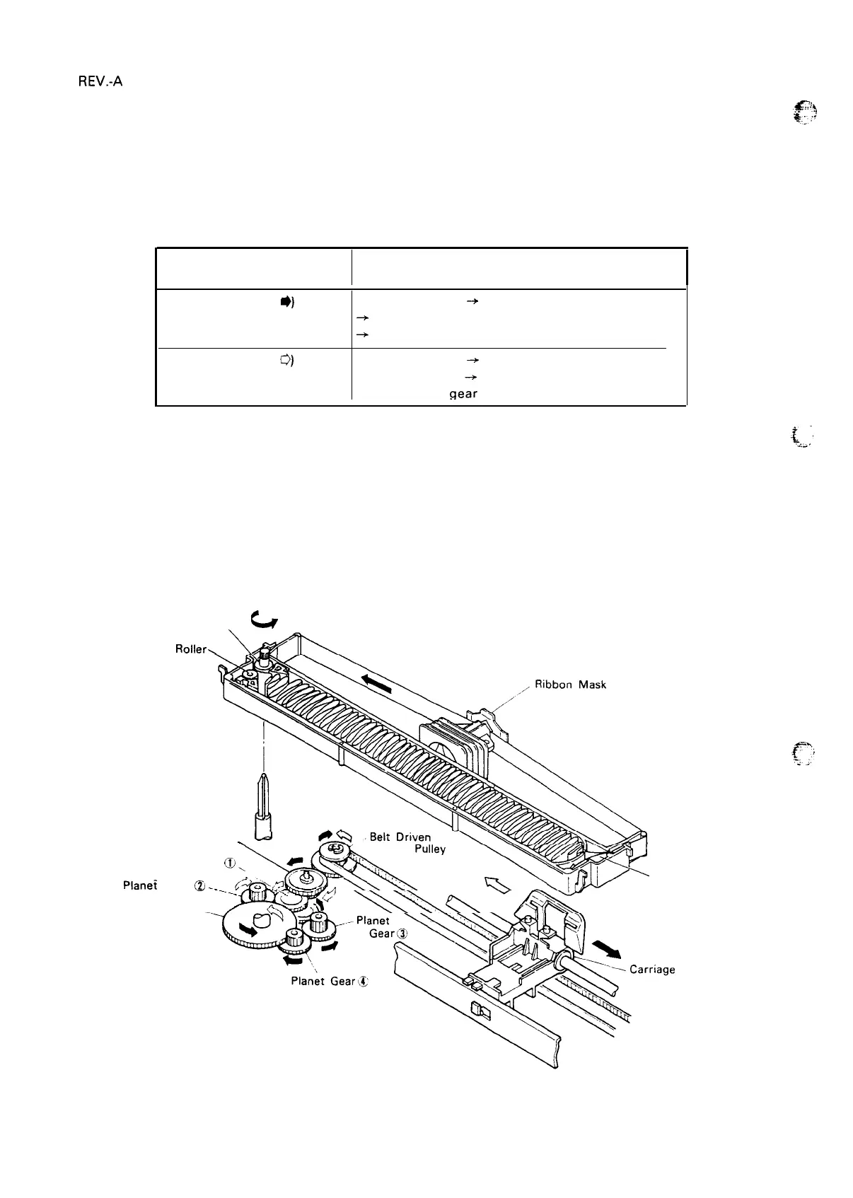
2.2.8 Ribbon-feed Mechanism
The ribbon-feed mechanism consists of the ribbon cartridge and the ribbon-feed section. The
ribbon-driving gear is always driven counterclockwise (regardless of the timing belt direction) via the
gear trains shown in Table 2-8.
Table 2-8. Ribbon-Feed Gear Train
Direction of Movement of
Carriage
Gear Train
Left to right (arrow o)
Belt-driven pulley
-+ Platen gear (1)
+
Platen gear (2)
+
Ribbon-driving gear
Right to left (arrow
~)
Belt-driven pulley -+ Platen gear (1)
+ Platen gear (3)
--+
Platen gear (4)
Ribbon-driving
gear
Figure 2-51 shows the ribbon-feed mechanism. The inked ribbon is held in the cartridge case between
t>;
the ribbon-feed and the ribbon-pressure roller mounted on the ribbon-driving gear. The ribbon
configuration is such that the ribbon can feed endlessly.
The ribbon-driving gear drives the rollers, which causes the ribbon to be fed.
To prevent ribbon slack, a ribbon-breaking spring is attached at the exit of the cartridge case. A ribbon
mask is installed to prevent the ribbon from staining the paper.
Ribbon Feed Roller
b
Ribbon Pressure Roller=
\~
Ribbon Br
Ribbon Transmission Gear
~
f
Planet Gear
@,
Planei Gear
@
Ribbon Driving Gear _
$9
\\\\b
-#’@&$&T
“caking
Spring
Figure 2-51. Ribbon-Feed Mechanism
2-46

Table of Contents

Other manuals for Epson LX-810

Related product manuals