EasyManua.ls Logo

FOM INDUSTRIE BLITZ - Cuts at External Angles Below 30°

FOM INDUSTRIE BLITZ
152 pages
Print Icon
To Next Page IconTo Next Page
To Next Page IconTo Next Page
To Previous Page IconTo Previous Page
To Previous Page IconTo Previous Page
Loading...
53
BLITZ
G BG B
G BG B
G B
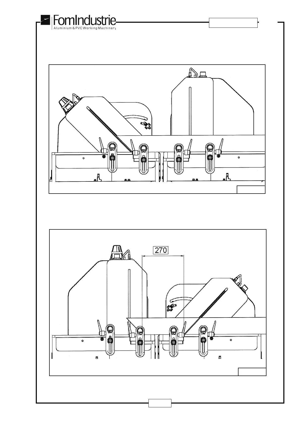
Minimum cut at 45° EXT made in 2 phases by means of an undersize cutting program
1st PHASE: 45° cut with the fixed head only (see Fig. 09-17)
2nd PHASE: The mobile head clamps the piece and moves it back by a few mm, then the fixed head locks it
in that position. The mobile head moves back to the minimum measurement and makes the cut (see Fig. 09-
18).
09-17
09-18

Table of Contents

Related product manuals