EasyManua.ls Logo

Franke F3D3P - Load Cell Assembly Parts

Franke F3D3P
115 pages
Print Icon
To Next Page IconTo Next Page
To Next Page IconTo Next Page
To Previous Page IconTo Previous Page
To Previous Page IconTo Previous Page
Loading...
F3D3 Series Service Manual Parts List & Component Diagrams / Section 1.5
Questions? Call Franke Technical Support Group For Your Area. Page 8 Copyright 2011 Franke, Inc. All rights reserved.
65
1 ea.
Screw, Stainless Steel (M5x8)
19001582
19001582
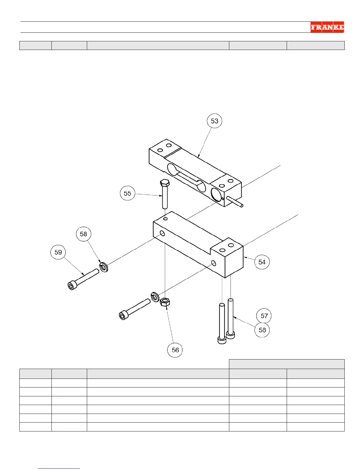
* Break in Key No. sequence is intentional. See Page 8 for Key Nos. 53-59.
Load Cell Assembly (All F3D3 Versions)
Part Numbers
Key No.
Quantity
Description
120-Volt/60 Hz
230-Volt/50 Hz
53
1 ea.
Load Cell
19002732 19002732
54
1 ea.
Load Cell Base
19000187
19000187
55
1 ea.
Stop Bolt, Load Cell
19002767
19002767
56
1 ea.
Nut, Stop Bolt, Stainless Steel (M6)
19001576
19001576
57
2 ea.
Screw, Cell-to-Base (M6x50)
19001564
19001564
58
4 ea.
Lock Washers (M6)
19001570
19001570

Table of Contents

Other manuals for Franke F3D3P

Related product manuals