EasyManua.ls Logo

Fuso ROSA 2014 - Page 24

Default Icon
122 pages
Print Icon
To Next Page IconTo Next Page
To Next Page IconTo Next Page
To Previous Page IconTo Previous Page
To Previous Page IconTo Previous Page
Loading...
PRE-DELIVERY INSPECTION PROCEDURE
1-9
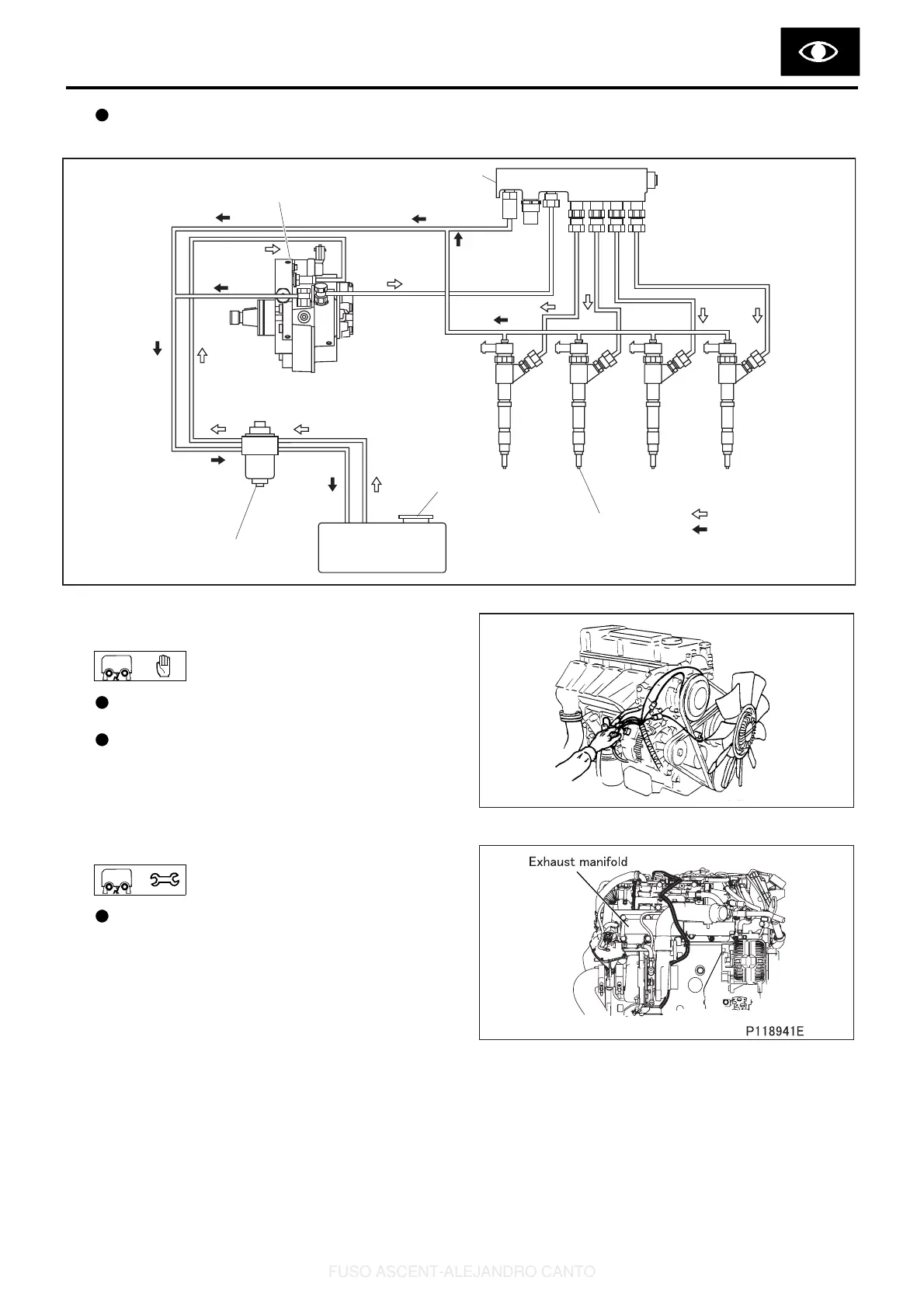
Check the fuel system for leakage.
Fuel filter, Supply pump, Common rail, Injector, Piping, Hose, Fuel tank.
16. INSTALLED CONDITION OF ELECTRICAL
EQUIPMENTS
Check if the starter and alternator are properly
installed.
Check the wiring connections for tightness.
If the wiring harness interferes with other parts,
correct it.
17. EXHAUST MANIFOLD TIGHTNESS
Check if the exhaust manifold is correctly tight-
ened.
If the mounting nuts are loose, tighten them at
specified torque.
P100396E
Supply pump
Common rail
Injector
Fuel tank
Fuel filter
: Supply fuel
: Leak-off fuel
<4M42, 4M50>
FUSO ASCENT-ALEJANDRO CANTO

Table of Contents

Related product manuals