EasyManua.ls Logo

Ge Est QS4 - Notification Appliance Circuits

Ge Est QS4
138 pages
Print Icon
To Next Page IconTo Next Page
To Next Page IconTo Next Page
To Previous Page IconTo Previous Page
To Previous Page IconTo Previous Page
Loading...
Standard applications
5.2 QS4 Technical Reference Manual
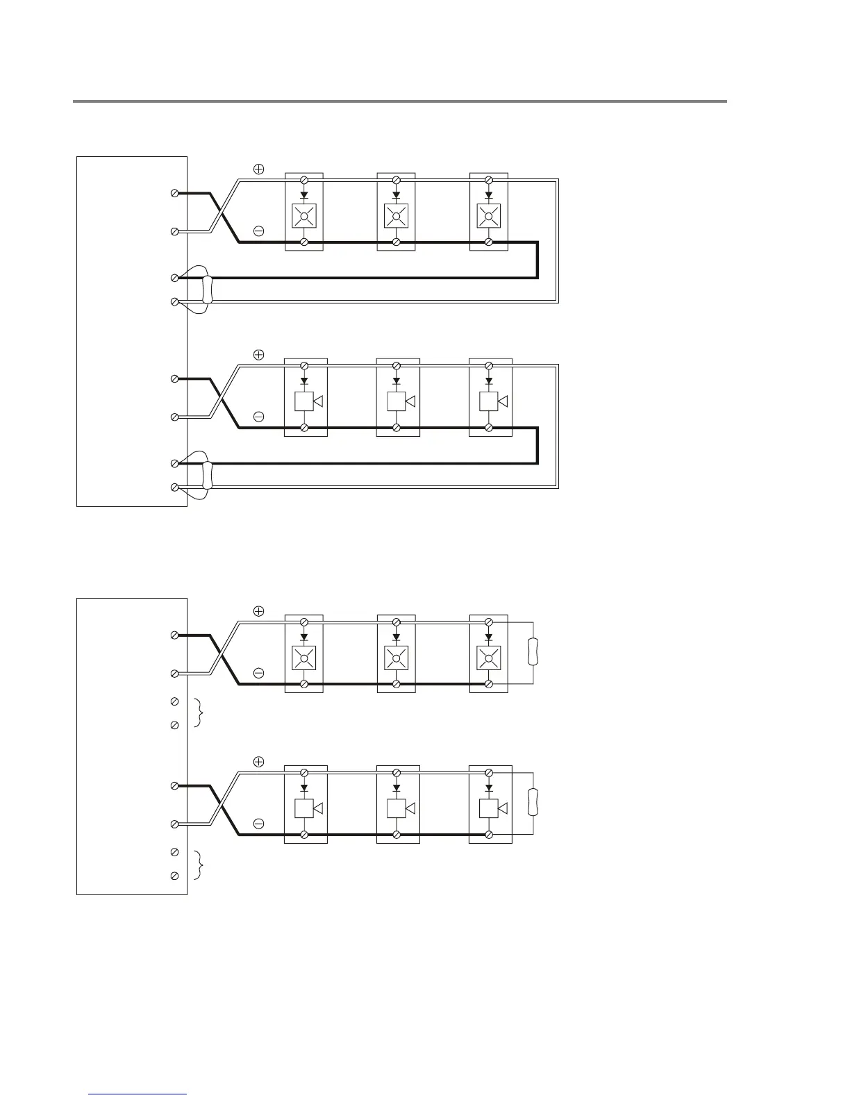
Notification appliance circuits
SLIC
UL/ULC LISTED
10 K EOL
R
NAC2 B–
NAC2 B+
NAC2 A+
NAC2 A–
UL/ULC LISTED
10 K EOLR
NAC1 B–
NAC1 B+
NAC1 A+
NAC1 A–
Typical Class A NAC circuits
Note: The plus and
minus symbols
indicate signal
polarity when the
NAC circuit is turned
on.
SLIC
NAC2 B–
NAC2 B+
NAC2 A+
NAC2 A–
UL/ULC LISTED
10 K EOLR
NAC1 B–
NAC1 B+
NAC1 A+
NAC1 A–
UL/ULC LISTED
10 K EOLR
NOT USED
NOT USED
Typical Class B NAC circuits
Note: The plus and
minus symbols
indicate signal
polarity when the
NAC circuit is turned
on.
Technical Manuals Online! - http://www.tech-man.com

Table of Contents