EasyManua.ls Logo

Ge Est QS4 - Page 98

Ge Est QS4
138 pages
Print Icon
To Next Page IconTo Next Page
To Next Page IconTo Next Page
To Previous Page IconTo Previous Page
To Previous Page IconTo Previous Page
Loading...
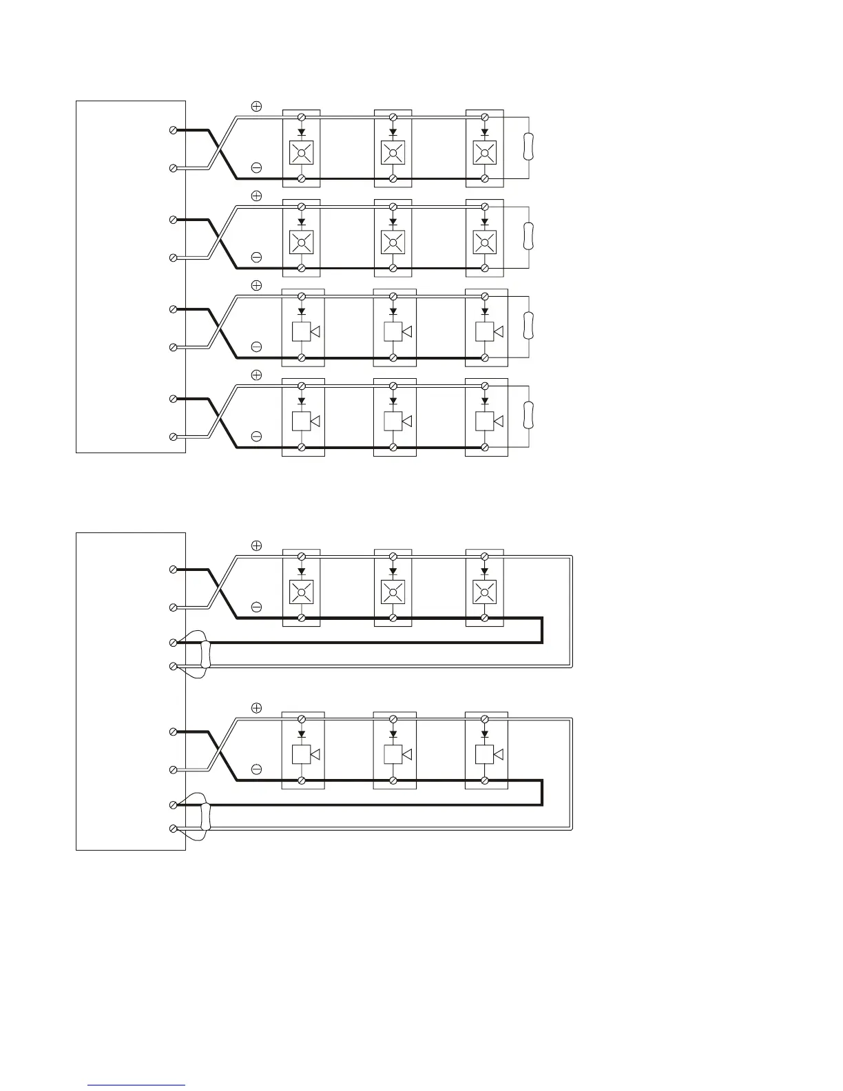
Standard applications
5.4 QS4 Technical Reference Manual
ZB16–4
UL/ULC LISTED
10 K EOLR
Z13–
Z13+
Z15–
Z15+
UL/ULC LISTED
10 K EOLR
UL/ULC LISTED
10 K EOLR
Z14–
Z14+
Z16–
Z16+
UL/ULC LISTED
10 K EOLR
Typical Class B NAC circuits
ZA8–2
UL/ULC LISTED
10 K EOLR
ZONE 4 B–
ZONE 4 B+
ZONE 4 A+
ZONE 4 A–
UL/ULC LISTED
10 K EOL
R
NAC1 B–
NAC1 B+
NAC1 A+
NAC1 A–
Typical Class A NAC circuit
Technical Manuals Online! - http://www.tech-man.com

Table of Contents