EasyManua.ls Logo

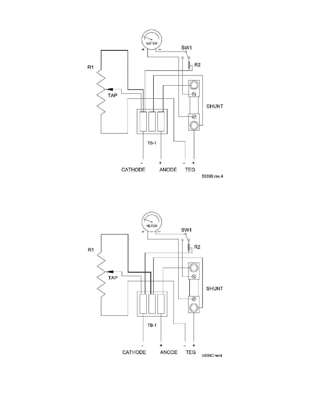
Gentherm 5220 - Figure 27 - CP Interface System, Series Wiring Diagram; Figure 28 - CP Interface System, Parallel Wiring Diagram

Default Icon
84 pages
Print Icon
To Next Page IconTo Next Page
To Next Page IconTo Next Page
To Previous Page IconTo Previous Page
To Previous Page IconTo Previous Page
Loading...
28142 Rev 15 ADJUSTMENT
Gentherm Global Power Technologies Page 52
Figure 27CP Interface System, Series Wiring Diagram
Figure 28CP Interface System, Parallel Wiring Diagram

Table of Contents