EasyManua.ls Logo

Gerhardt S Series - Interior View

Gerhardt S Series
68 pages
Print Icon
To Next Page IconTo Next Page
To Next Page IconTo Next Page
To Previous Page IconTo Previous Page
To Previous Page IconTo Previous Page
Loading...
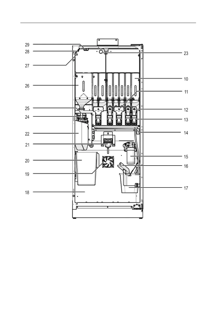
Structure and function
20
4.1.2 Interior view
10
Powder container
20
Coffee grounds container
11
Powder slide Duo
21
Collection box
12
Powder slide Mono
22
Cover plate
13
Outlet of the mixing chamber
23
Pressure gauge
14
Drip tray
24
Coffee powder chute
15
Lime filter
25
Mill
16
Drainage drip tray
26
Bean container
17
Drip bucket
27
Backup
18
Rittal heating (optional)
28
Main switch
19
Case fan
29
Door contact switch

Table of Contents