EasyManua.ls Logo

Gerhardt S Series - Rear

Gerhardt S Series
68 pages
Print Icon
To Next Page IconTo Next Page
To Next Page IconTo Next Page
To Previous Page IconTo Previous Page
To Previous Page IconTo Previous Page
Loading...
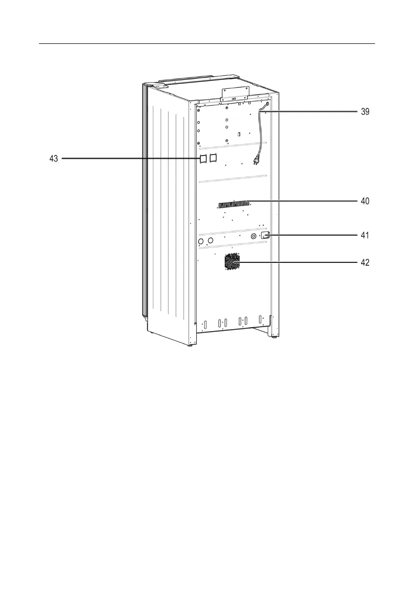
Structure and function
22
4.1.4 Rear
39
Power connection
42
Air intake
40
Exhaust air opening MMX
43
Network (optional)
41
Water connection

Table of Contents