EasyManua.ls Logo

Graco Reactor 2 H-XP3

Graco Reactor 2 H-XP3
102 pages
To Next Page IconTo Next Page
To Next Page IconTo Next Page
To Previous Page IconTo Previous Page
To Previous Page IconTo Previous Page
Loading...
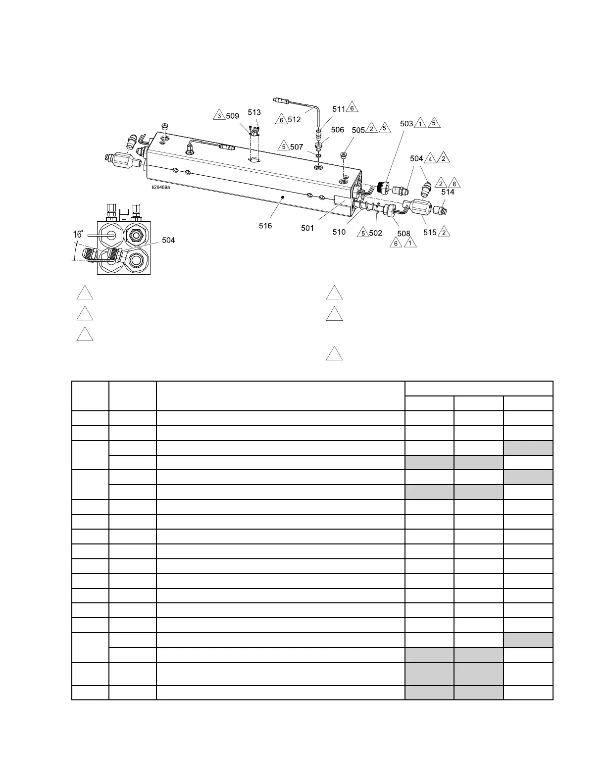
Parts
17G647, 17G647,
17G647,
10.2 10.2
10.2
kW kW
kW
Dual Dual
Dual
Zone Zone
Zone
Heater Heater
Heater
1
Torqueto120ft-lbs(163N•m).
2
Torqueto23ft-lbs(31N•m).
3
Applythermalpaste.
4.
ApplypipesealantandPTFEtapetoall
non-swivelingthreadsandthreadswithout
o-rings.
5
Applylithiumgreaselubricanttoo-ringsbefore
assemblinginblock(501).
6
Orientatesensorasshown.Insertprobeuntilit
bottomsonheatingelement.Tightenferruleon
sensorprobeoneturnpast󰘰ngertightor180
in-lbs(20.3N•m).
8
Orientrupturedischousing(514)withexhaust
holepointingawayfrom󰘰tting(505).
Quantities Quantities
Quantities
Ref Ref
Ref
Part Part
Part
Description Description
Description
17G646 17G646
17G646
17G648 17G648
17G648
17G647 17G647
17G647
501
---
HEATER,housing
111
502124132
O-RING
344
15H305
FITTING,plugholowhex1-3/16sae
5
4
503
15H302
FITTING,1/2–14npt(f)x3/16–12UN-2A
4
121309
FITTING,adapter,sae-orbxjic
22
504
121319
FITTING,adapter,nptxJIC
4
50515H304
FITTING,plug9/16sae
332
50615H306ADAPTER,thermocouple,9/16x1/8
112
507120336
O-RING,packing
112
50816A110
HEATER,immersion,(2550w,230v)
344
50915B137
SWITCH,overtemperature
111
51015B135MIXER,immersionheater
344
511123325
FITTING,compression,1/8npt,ss
112
512124262
SENSOR,rtd,1kohm,90deg,4pin,tip
112
513
---
SCREW,mach,pnh,.375in,#6–32
222
247520
HOUSING,rupturedisc
11
514
248187
HOUSING,rupturedisc
2
51515R873
FITTING,tee,1/2–14npt(m)x1/2–14npt(f)x1/2–14
npt(f)
1
51615M177
INSULATOR,foam,heater
1
334946C 85

Other manuals for Graco Reactor 2 H-XP3

Related product manuals