EasyManua.ls Logo

Groen CC20-E - Page 137

Groen CC20-E
314 pages
Print Icon
To Next Page IconTo Next Page
To Next Page IconTo Next Page
To Previous Page IconTo Previous Page
To Previous Page IconTo Previous Page
Loading...
CC10-G
Parts List
4-35
TO
BOILER
FROM
WATER
VALVE
19
17
18
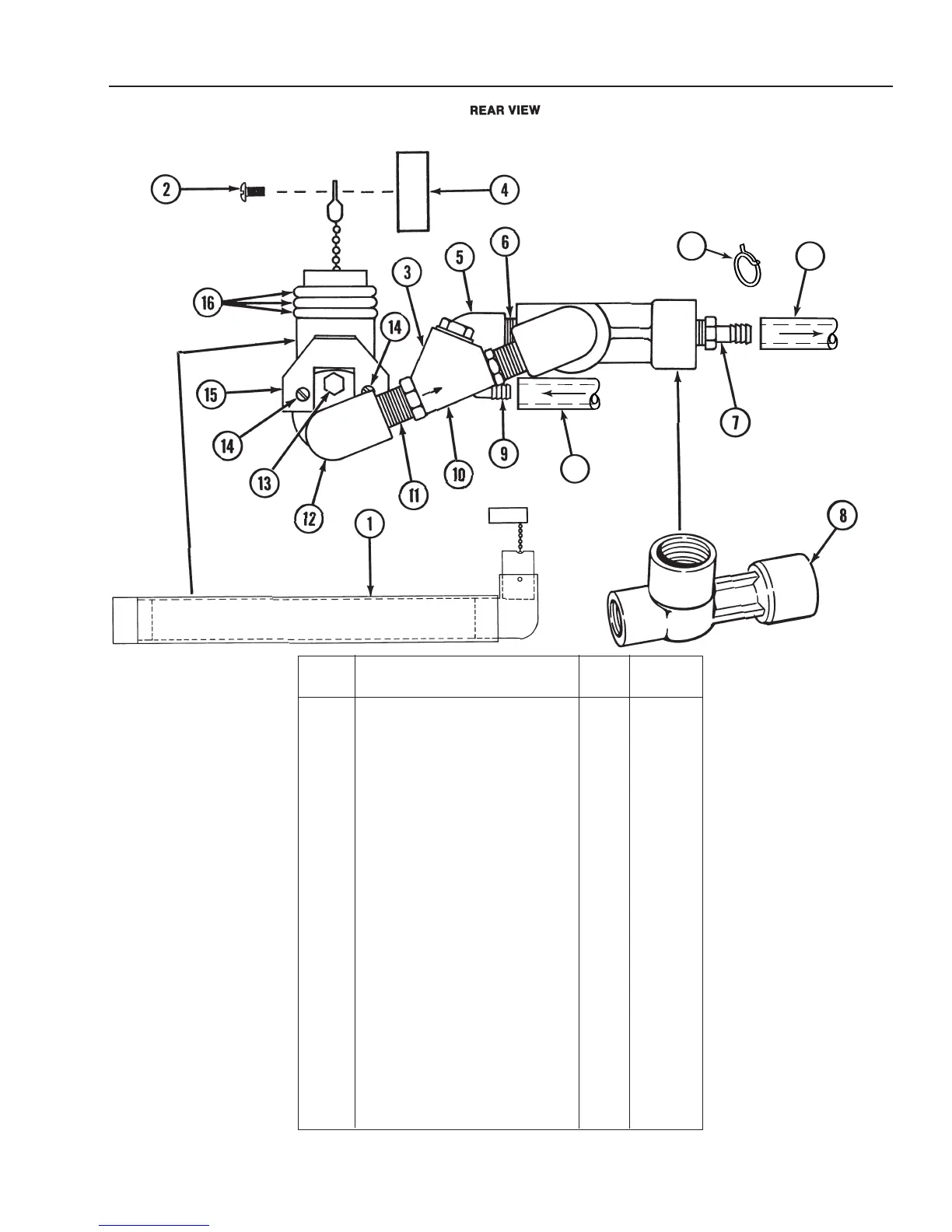
1 Auto Clean Tank...................... 1 086452
2 Screw, 3/8" Truss Hd .............. 1 005764
3 Swing Check Valve ................. 1 086461
4 Filler Cap................................. 1 086468
5 Elbow 900, 3/8-18NPT............ 1 086490
6 Close Nipple, 3/8-18NPT ........ 1 086493
7 Male Adapter, 1/2-14NPT X
1/2 Hose.................................. 1 092104
8 Eductor, 1/2-14NPT................. 1 086460
9 Male Adapter, 90°.................... 1 086489
10 Swing Check Valve,
1/2-14NPT............................... 1 086461
11 Nipple, 1/2-14NPT X 1-1/2
Lg ............................................ 3 086485
12 Elbow 900,1/2-14NPT ............. 2 086494
13 Plug, 3/8-18NPT...................... 1 092103
14 Screw, Hex Head 8-32 X
3/8 ........................................... 2 069789
15 Bracket .................................... 1 086457
16 O-Ring, 1-3/8 X 2 x 3/16"........ 3 092102
17 Hose to Boiler ......................... 1 092110
18 Hose from Water Valve ........... 1 092109
19 Hose Clamps........................... 4 092121
Item Description Qty.
Part
No.
Figure 11. Auto Clean Single Stack Piping Assembly
(Revised 1/02)

Related product manuals