EasyManua.ls Logo

Groen CC20-E - Page 58

Groen CC20-E
314 pages
Print Icon
To Next Page IconTo Next Page
To Next Page IconTo Next Page
To Previous Page IconTo Previous Page
To Previous Page IconTo Previous Page
Loading...
CC20-E
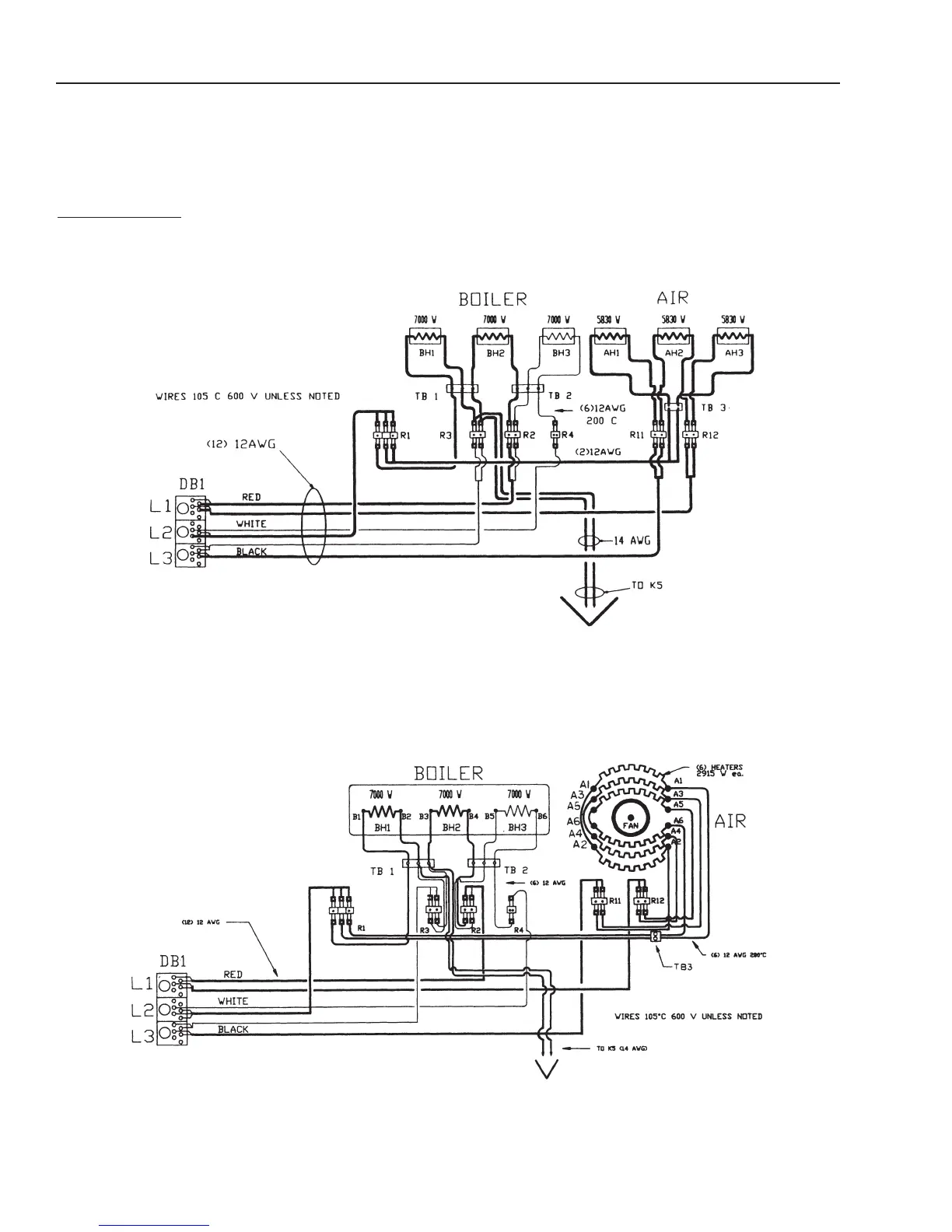
Electrical Diagrams
Prior to Serial Number C7439MS
3-263-263-263-26
(Revised 1/02)
C
ombo Mode Circuit for 208/240 Volt Units
Heater Diagrams
(Prior to Serial No. C10129MC)
NOTICE: The boiler elements in the Combo mode function the same as the Steam Mode until the
water is heated and the oven reaches the Ready condition.
(Starting to Serial No. C10129MC)
NOTICE: The boiler elements in the Combo mode function the same as the Steam Mode until the
water is heated and the oven reaches the Ready condition.

Related product manuals