EasyManua.ls Logo

Groen CC20-E - Page 59

Groen CC20-E
314 pages
Print Icon
To Next Page IconTo Next Page
To Next Page IconTo Next Page
To Previous Page IconTo Previous Page
To Previous Page IconTo Previous Page
Loading...
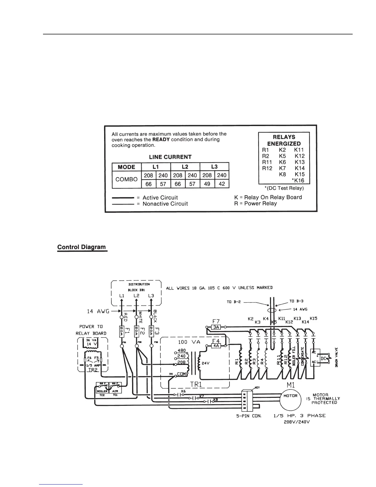
CC20-E
Electrical Diagrams
Prior to Serial Number C7439MS
3-273-273-273-27
(Revised 1/02)
C
ombo Mode Circuit for 208/240 Volt Units
NOTICE: The boiler elements in the Combo mode function the same as the Steam Mode until the water is heated and the oven reaches the
Ready condition.

Related product manuals