EasyManua.ls Logo

Groen CC20-E - Page 81

Groen CC20-E
314 pages
Print Icon
To Next Page IconTo Next Page
To Next Page IconTo Next Page
To Previous Page IconTo Previous Page
To Previous Page IconTo Previous Page
Loading...
CC20-E
Parts List
3-493-493-493-493-493-49
(Revised 1/02)
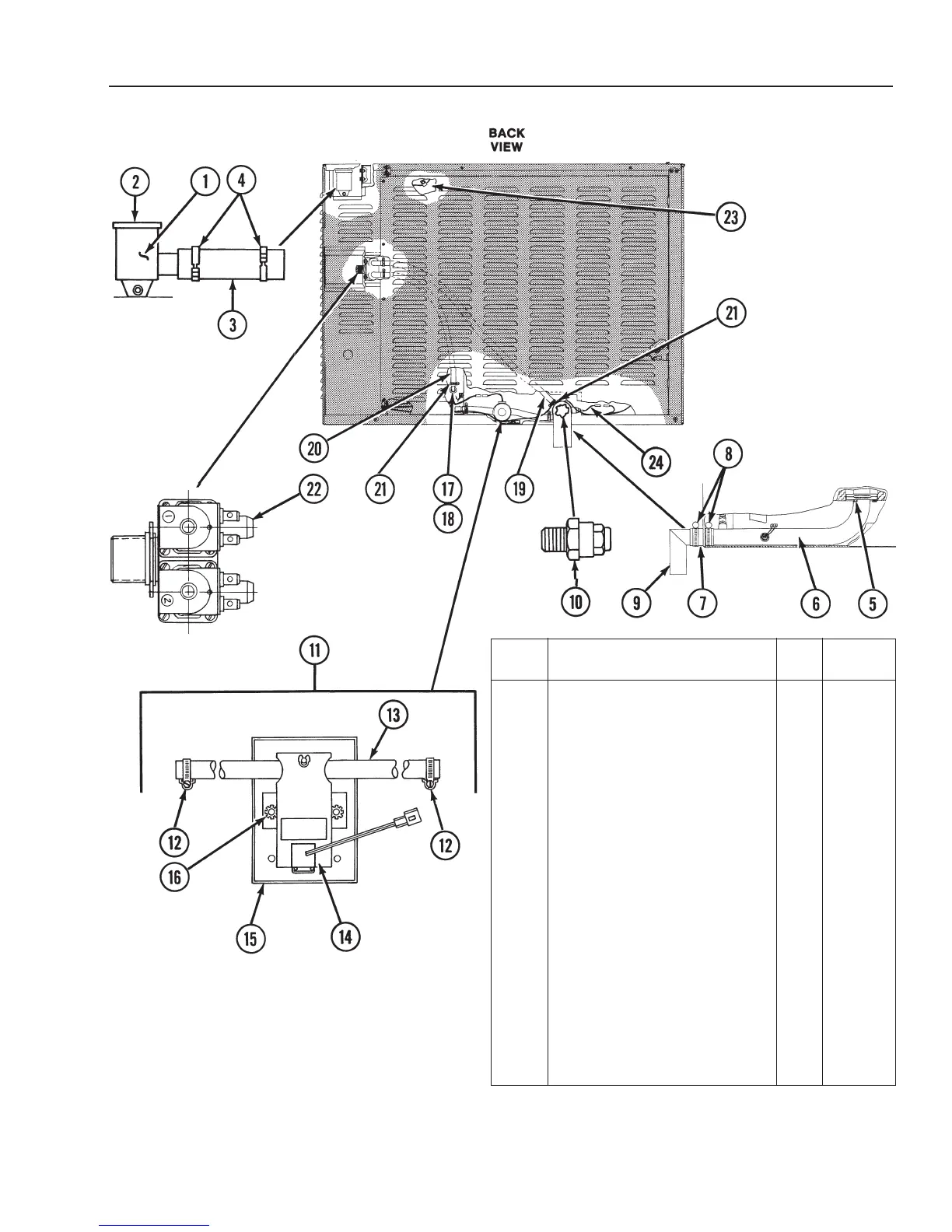
Figure 7. Water Inlet and Drain
1 Valve Housing Assembly . . . . 1 081601
2 Top Valve Assembly . . . . . . . . 1 081662
3 Vent Hose . . . . . . . . . . . . . . . 1 080689
4 Hose Clamp . . . . . . . . . . . . . 2 010873
5 Drain Seal . . . . . . . . . . . . . . . 1 080634
6 Drain Pipe Assembly . . . . . . . 1 080666
7 Drain Hose . . . . . . . . . . . . . . 1 080688
8 Hose Clamp . . . . . . . . . . . . . 2 013616
9 Drain Elbow Assembly . . . . . 1 080781
10 Spray Nozzle . . . . . . . . . . . . . 1 122839
11 Valve and Bracket Assembly 1 081671
12 Hose Clamp . . . . . . . . . . . . 2 071271
13 Silicone Tube . . . . . . . . . . . . 1 080631
14 Drain Valve . . . . . . . . . . . . . 1 071234
15 Valve Mounting Tray . . . . . 1 081612
16 Nut, 10-32 . . . . . . . . . . . . . . 2 071256
17 Water Inlet Assembly . . . . . . 1 072151
18 Gasket . . . . . . . . . . . . . . . . . . 1 072183
19 Condensate Tube, 28-1 /2” Lg . . 1 081626
20 Water Fill Tube ,17” Lg . . . . . 1 081627
21 Hose Clamp . . . . . . . . . . . . . 4 071271
22 Solenoid Valve (2-Way) . . . . . 1 071235
23 Rear Insulation Panel . . . . . . 1 080696
24 Probe & Drain Valve Harness 1 076495
25 Flow Restrictor . . . . . . . . . . . . 1 112720
Item Description Qty.
Part
No.

Related product manuals