EasyManua.ls Logo

GSD Compuprint 9065 - Page 98

GSD Compuprint 9065
128 pages
Print Icon
To Next Page IconTo Next Page
To Next Page IconTo Next Page
To Previous Page IconTo Previous Page
To Previous Page IconTo Previous Page
Loading...
User Manual 9065/9065plus
MAN10772-00 96
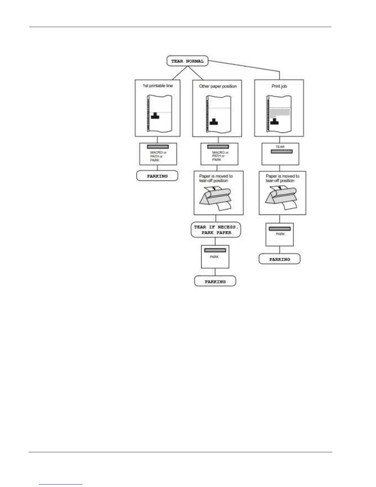
If TEAR NORMAL is selected:
When the paper is positioned
at the first printable line and
the paper path is changed
(changing the Macro or
pressing the PATH key) or
the PARK key is pressed, the
printer performs
automatically the parking
procedure.
If at least one line has been
printed, or the paper has
been fed forward at least 1
line and the paper path is
changed (changing the
Macro or pressing the PATH
key) or the PARK key is
pressed, the paper is moved
to the tear-off position and
the display shows TEAR IF
NECESS./PARK PAPER. If
the paper to be parked is
longer than 18" tear it off and
press the PARK key again to
perform the parking
procedure.
When the paper is positioned
in the tear-off position after
pressing the TEAR key, if
you press the PARK key the
printer performs
automatically the parking
procedure.

Table of Contents