EasyManua.ls Logo

HID iCLASS SE - Prox Interface (125 kHz)

HID iCLASS SE
52 pages
Print Icon
To Next Page IconTo Next Page
To Next Page IconTo Next Page
To Previous Page IconTo Previous Page
To Previous Page IconTo Previous Page
Loading...
iCLASS SE Reader Module Hardware Developer’s Guide, SE3200-902, Rev. C.1
February 2014 Page 30 of 52
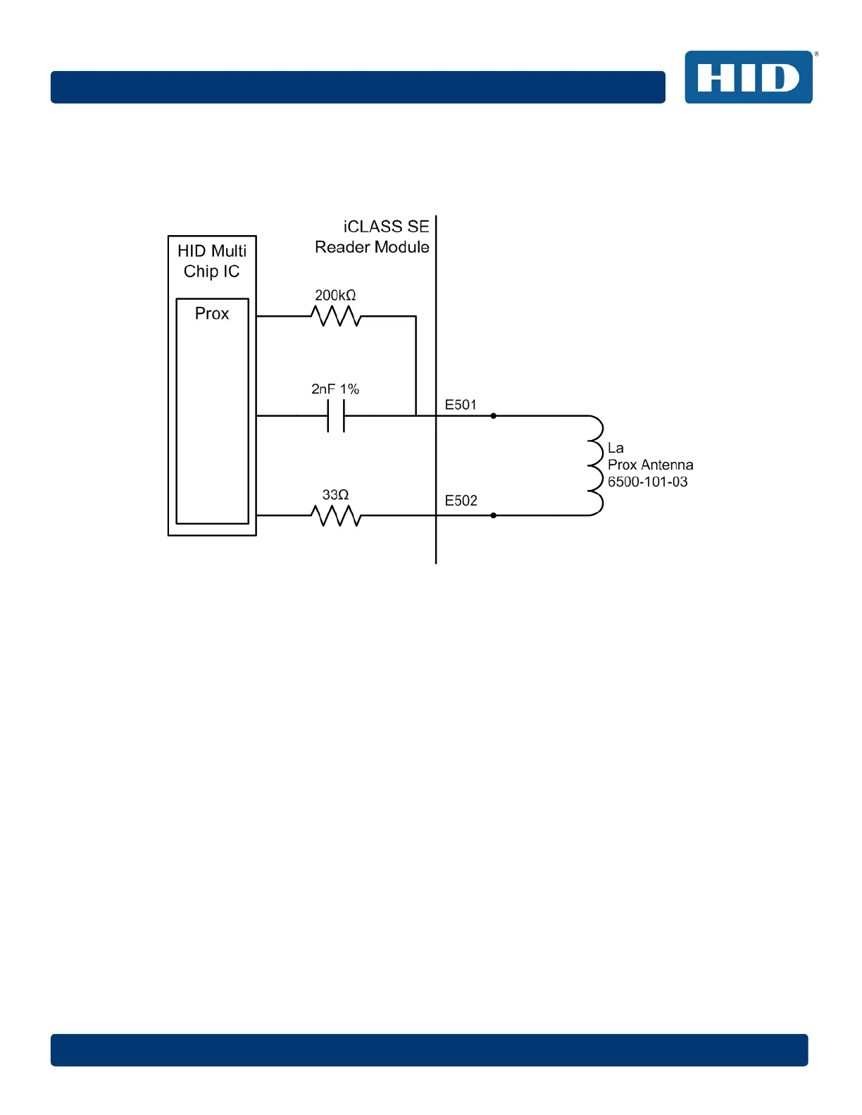
6.2 Prox Interface (125 kHz; SE32x0APx only)
The Prox interface is optimized for connection to the HID Prox antenna 6500-101-03. If
this antenna or one with equal electrical characteristics is used, no additional
components are required.
Figure 11: iCLASS SE Reader Module Prox Interface with Antenna
The onboard capacitor of 2nF and the external antenna coil build a serial resonator. Choose
approximately 125 kHz for the resonance frequency. An additional 33 resistor is used to
control the quality factor of the antenna.
If the used antenna has a different electrical characteristic than the HID 6500-101-03 Prox
antenna, external components may be necessary to adjust resonance frequency and quality
factor to the desired value.
The desired quality factor of the system is between 5 and 15 depending on antenna size.
HID provides additional documents, support and services for antenna design and
support. These documents may require service level agreements. Contact your sales
manager for more details.

Table of Contents

Other manuals for HID iCLASS SE

Related product manuals