EasyManua.ls Logo

Hitachi VSP F1500 - Shadowimage Duplicated Mirroring

Hitachi VSP F1500
530 pages
Print Icon
To Next Page IconTo Next Page
To Next Page IconTo Next Page
To Previous Page IconTo Previous Page
To Previous Page IconTo Previous Page
Loading...
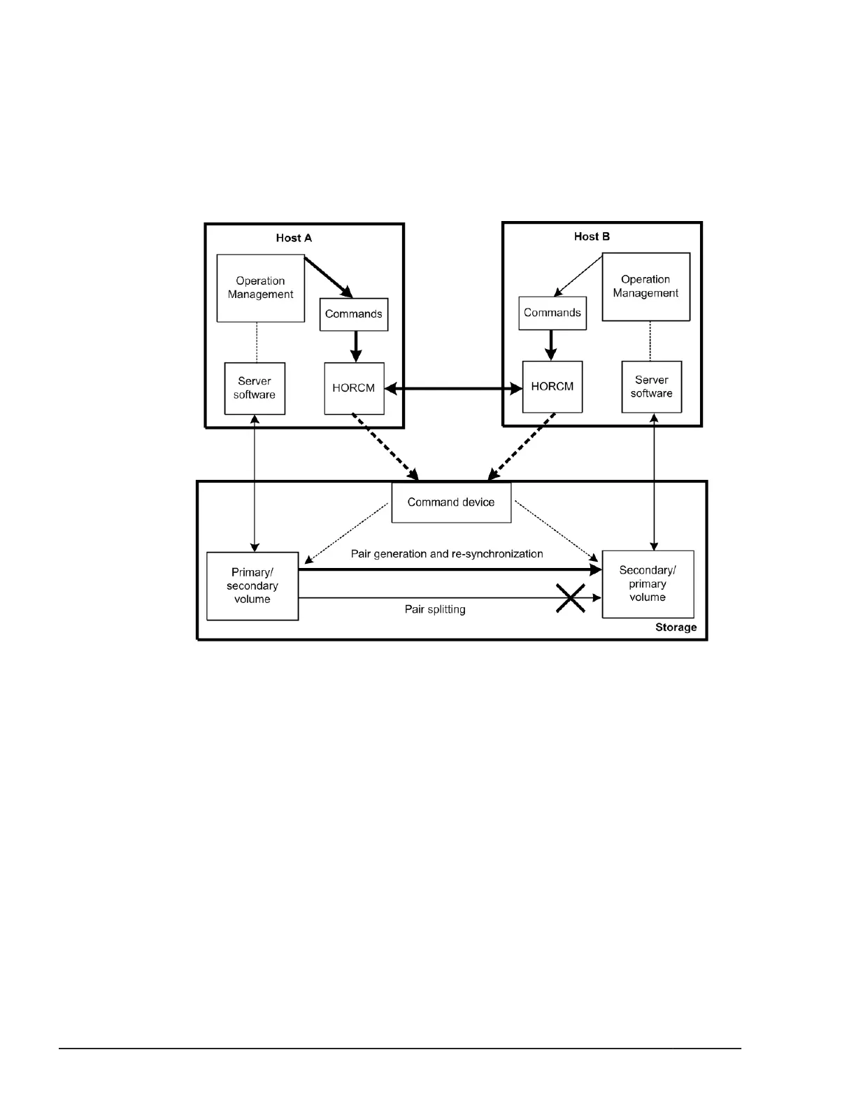
Pair resynchronization with restore option: Resynchronizes a split pair
based on the secondary volume (reverse resync). The primary volume is
not accessible during resync with restore option.
Event waiting: Used for waiting for the completion of a volume pair
creation or resynchronization to check the pair status.
Pair status display and configuration confirmation: Displays the pair
status and configuration of the volume pairs; this can also be used for
checking the completion of a pair creation or pair resynchronization.
Figure 6-2 ShadowImage system configuration
ShadowImage duplicated mirroring
Duplicated mirroring of a single primary volume is possible when the
ShadowImage feature is used. Duplicated mirror volumes can be specified up
tp the maximum quantity 3. The duplicated mirror volumes of the P-VOL are
expressed as virtual volumes using the mirror descriptors (MU#0-2) in the
configuration diagram as shown below.
6-6
Data replication operations with CCI
Command Control Interface User and Reference Guide

Table of Contents

Related product manuals