EasyManua.ls Logo

Hitachi VSP F1500 - Page 240

Hitachi VSP F1500
530 pages
Print Icon
To Next Page IconTo Next Page
To Next Page IconTo Next Page
To Previous Page IconTo Previous Page
To Previous Page IconTo Previous Page
Loading...
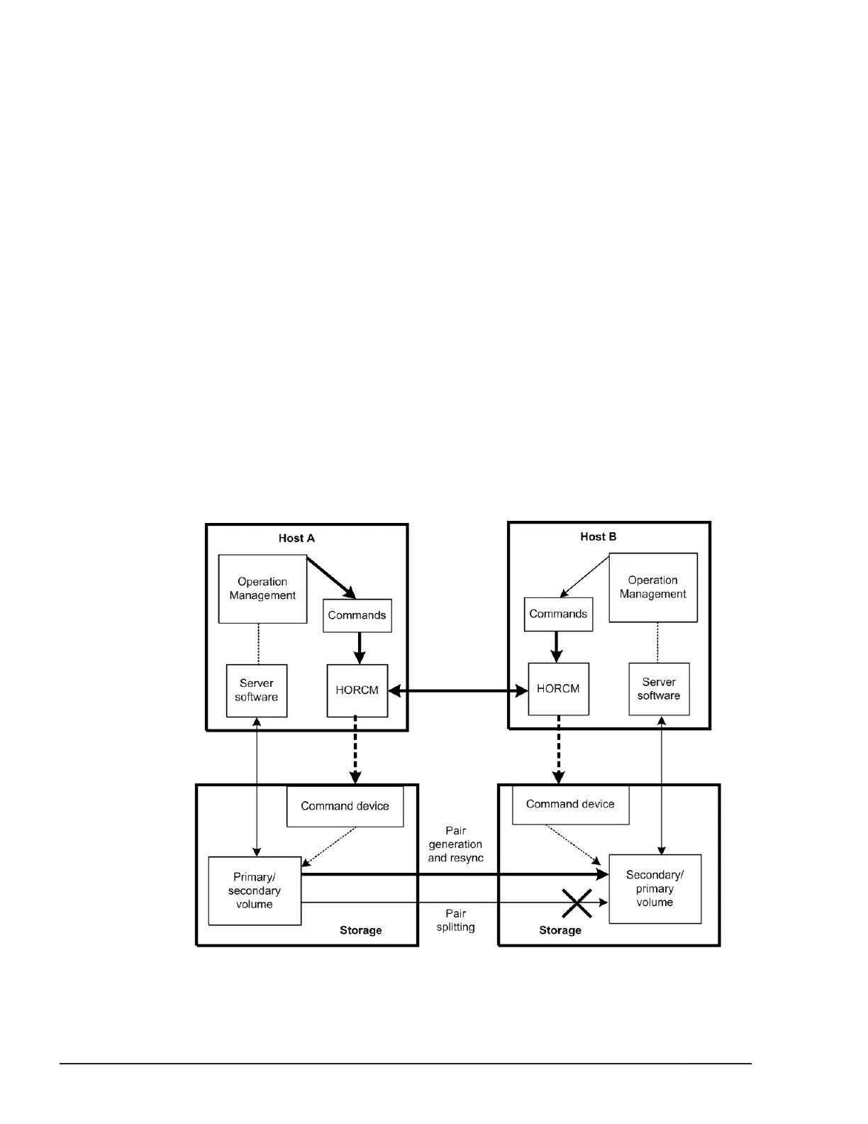
the system operation with volume backups among UNIX servers and their
operating system management functions. The TrueCopy remote pair
commands are also used to copy volumes in server failover configurations
and to restore the volumes to their original state after a server failover has
been recovered.
Pair creation command: Creates a new volume pair. Volume pairs can be
created in units of volume or group.
Pair splitting command: Splits a volume pair and allows read and write
access to the secondary volume.
Pair resynchronization command: Resynchronizes a split volume pair
based on the primary volume. The primary volume remains accessible
during resynchronization.
¢
Swaps(p) option (TrueCopy only). Swaps volume from the S-VOL(P-
VOL) to the P-VOL(S-VOL) when the S-VOL(P-VOL) is in the
suspended state and resynchronizes the NEW_SVOL based on the
NEW_PVOL. At the result of this operation, the volume attributes of
the host of reference (local host) are used as the attributes for the
NEW_PVOL(SVOL).
Event waiting command: Used to wait for the completion of volume pair
creation or resynchronization and to check the pair status.
Pair status display and configuration confirmation command: Displays the
pair status and configuration of the volume pairs and is used for checking
the completion of pair creation or pair resynchronization.
Figure 6-7 TrueCopy remote system configuration
6-16
Data replication operations with CCI
Command Control Interface User and Reference Guide

Table of Contents

Related product manuals