EasyManua.ls Logo

HyQuest Solutions iRIS 150FX - Page 25

Default Icon
65 pages
Print Icon
To Next Page IconTo Next Page
To Next Page IconTo Next Page
To Previous Page IconTo Previous Page
To Previous Page IconTo Previous Page
Loading...
© 2023 HyQuest Solutions 25
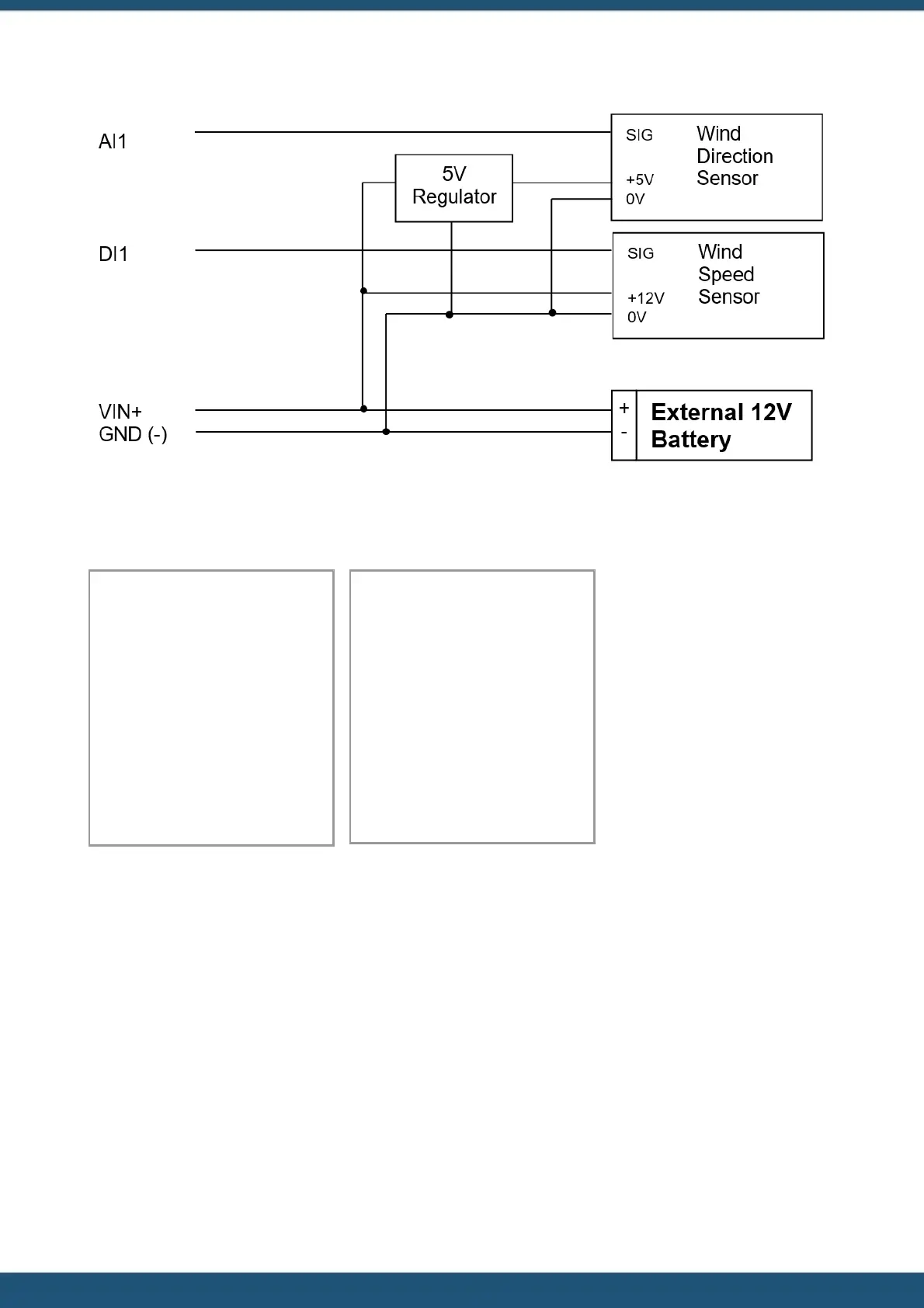
Installation
A typical sensor configuration example for this type of installation is shown below. The instruments are a Vector A101M
wind speed sensor providing pulses that are converted to metres/sec and a W200P wind direction sensor. The wind
speed and direction are averaged and the results logged every 10 minutes. The wind speed min and max (lull and gust)
are also logged.
Name: Wind Spd
Source: 7. Frequency 1
Process Mode: Period
Average
Log Minimum: Enabled
Log Maximum: Enabled
Multiplier: 0.010
Offset: 0.000
Log Rate: 10 mins
Name: Wind Dir
Source: 1: Analog In 1
Process Mode: Scalar
Average
Multiplier: 0.0718
Offset: 0.000
Log Rate: 10 mins

Table of Contents