EasyManua.ls Logo

INFOSEC E6 LCD-RT Evolution - Page 34

INFOSEC E6 LCD-RT Evolution
86 pages
Print Icon
To Next Page IconTo Next Page
To Next Page IconTo Next Page
To Previous Page IconTo Previous Page
To Previous Page IconTo Previous Page
Loading...
INFOSEC UPS SYSTEM - 4, rue de la Rigotière - 44700 Orvault - FRANCE - www.infosec-ups.com
Hot Line Tel + 33 (0)2 40 76 15 82 - Fax + 33 (0)2 40 94 29 51 - hotline@infosec.fr 05 13 AA 59 208 13
34
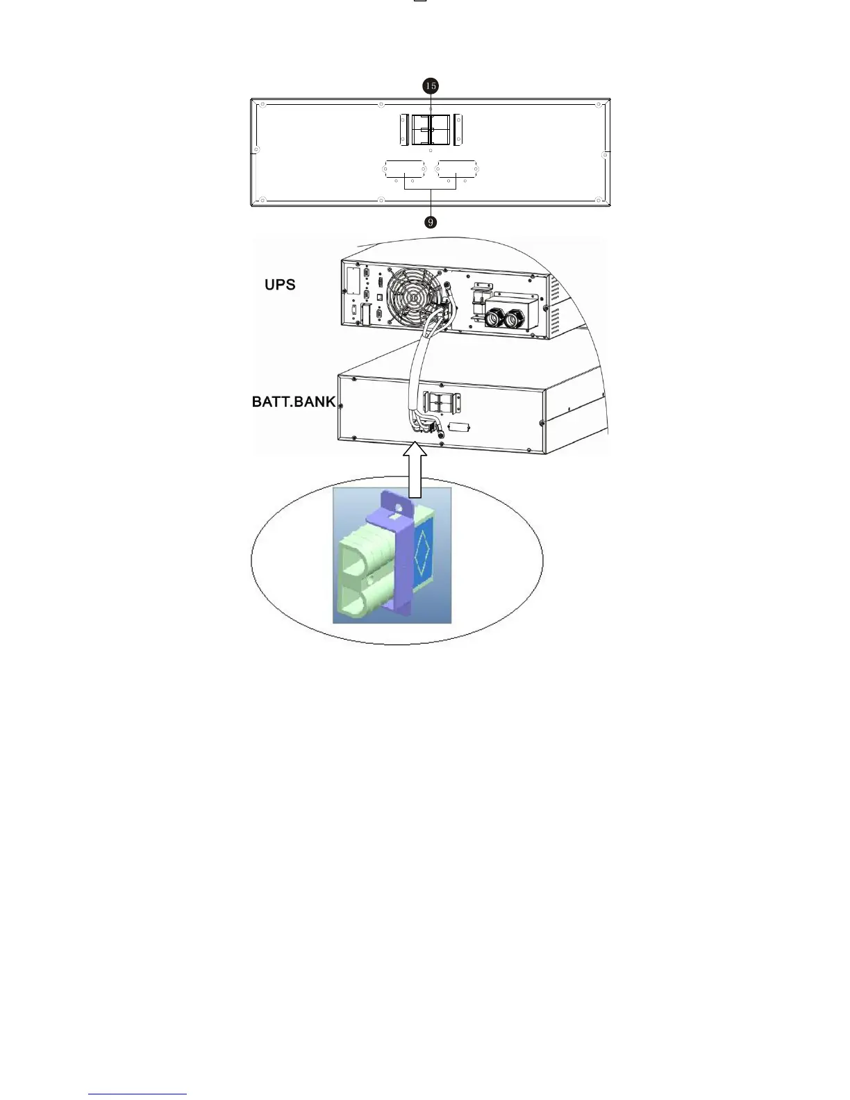
Schéma 4 : Connexion entre les blocs de batterie et l’onduleur
1 - Port de communication RS-232
2 - Port de communication USB
3 - Interrupteur d'arrêt d'urgence (EPO Emergency Power Off)
4 - Port de distribution du courant (pour fonction parallèle)
5 - Port parallèle (pour fonction parallèle)
6 - Port intelligent
7 - Port du commutateur de dérivation externe pour entretien
8 - Ventilateur
9 - Connecteur externe de batterie
10 - Disjoncteur d'entrée
11 - Terminal d'entrée/sortie
12 - Terminal d'entrée
13 - Terre
14 - Terminal de sortie
15 - Disjoncteur de sortie du bloc-batterie
Remarque : Maintenez l'interrupteur d'arrêt d'urgence fermé pendant le fonctionnement normal de l'onduleur. Pour activer
la fonction d'arrêt d'urgence, veuillez retirer le cavalier.

Table of Contents

Related product manuals