EasyManua.ls Logo

INFOSEC E6 LCD-RT Evolution - Page 63

INFOSEC E6 LCD-RT Evolution
86 pages
Print Icon
To Next Page IconTo Next Page
To Next Page IconTo Next Page
To Previous Page IconTo Previous Page
To Previous Page IconTo Previous Page
Loading...
INFOSEC UPS SYSTEM - 4, rue de la Rigotière - 44700 Orvault - FRANCE - www.infosec-ups.com
Hot Line Tel + 33 (0)2 40 76 15 82 - Fax + 33 (0)2 40 94 29 51 - hotline@infosec.fr 05 13 AA 59 208 13
63
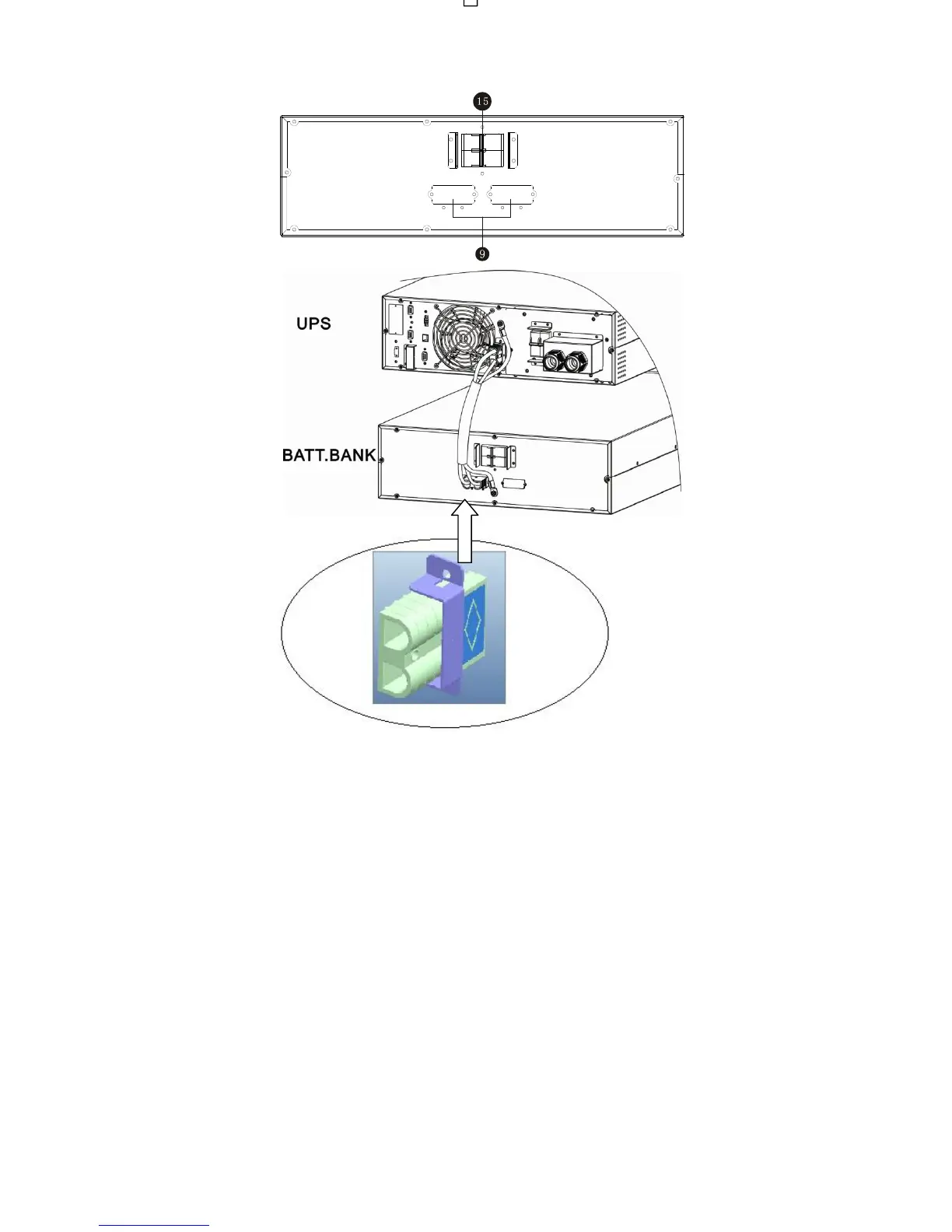
Diagrama 4: Conexión entre el Pack de Baterías y el UPS
1 - Puerto de comunicación RS-232
2 - Puerto de comunicación USB
3 - Conector EPO (Apagado de Emergencia)
4 - Puerto para compartir corriente (para la función en paralelo)
5 - Puerto paralelo (para la función en paralelo)
6 - Ranura inteligente
7 - Puerto EMBS (Interruptor de Bypass de Mantenimiento Externo)
8 - Ventilador
9 - Conector de batería externa
10 - Interruptor de carga de entrada
11 - Terminal de Entrada/Salida
12 - Terminal de entrada
13 - Toma de tierra
14 - Terminal de salida
15 - Interruptor de carga de salida del paquete de baterías
Nota: Durante la operación normal del UPS, el conector EPO debe estar en estado cerrado. Para activar la función EPO,
retire el puente (jumper).

Table of Contents

Related product manuals