EasyManua.ls Logo

Integra DTR-7.8 - Connecting Your Components-Continued; Connecting a VCR or DVR for Recording

Integra DTR-7.8
128 pages
Print Icon
To Next Page IconTo Next Page
To Next Page IconTo Next Page
To Previous Page IconTo Previous Page
To Previous Page IconTo Previous Page
Loading...
33
Connecting Your Components
—Continued
Notes:
The AV receiver must be turned on for recording. Recording is not possible while it’s on Standby.
If you want to record directly from your TV or another video source without going through the AV receiver, connect
the audio and video outputs from your TV or other video component directly to the recording VCR/DVR’s audio and
video inputs. See the manuals supplied with your TV or VCR/DVR for details.
•Video signals connected to composite video inputs can only be recorded via the VCR/DVR OUT V jack. So if your
source TV or VCR is connected to a composite video input, the recording VCR/DVR must be connected to the
VCR/DVR OUT V jack. Likewise, video signals connected to S-Video inputs can only be recorded via the VCR/DVR
OUT S jack. So if your source TV or VCR is connected to an S-Video input, the recording VCR/DVR must be
connected to the VCR/DVR OUT S jack.
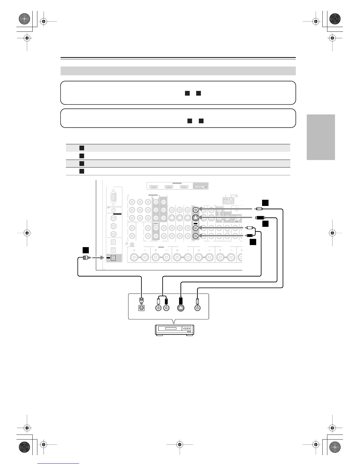
Connecting a VCR or DVR for Recording
Connection AV receiver Signal flow VCR or DVD recorder Picture quality
VCR/DVR OUT S
S-Video input
Better
VCR/DVR OUT V
Composite video input Standard
VCR/DVR OUT L/R
Audio L/R input
DIGITAL OPTICAL OUT
Digital optical input
Step 1: Video Connection
Choose a video connection that matches your VCR or DVR ( or ), and then make the connection. The video
source to be recorded must be connected to the AV receiver via the same type of connection.
A
B
Step 2: Audio Connection
Choose an audio connection that matches your VCR or DVR ( or ), and then make the connection.
a
b
A
B
a
b
RS232
DIGITAL
COAXIAL
OPTICAL
REMOTE
CONTROL
IN 1
IN 1
IN 2
IN IN IN IN
PHONO
ZONE2 R FRONT R FRONT LSURR R CENTER SURR L
SURR BACK R
CD TAPE AUX 1
GAME/TV
GAME/TV CBL/SAT
CBL/SAT
AUX 1 VCR/DVR
VCR/DVR DVD
DVD
GND
IN 2
IN 3
LL
V
S
RR
ASSIGNABLE
(DVD)
(CBL/SAT)
(VCR/DVR)
(GAME/TV)
(CD)
OUT
HDMI
IN 1IN 2IN 3
ASSIGNABLE
OUT
COMPONENT VIDEO
ASSIGNABLE
IN 3
Y
C
B
/P
B
C
R
/P
R
IN 2 IN
1(DVD)
MONITOR
OUT 1
OUT
IN IN
OUT
IN IN FRONT FRONTCENTER
SUBWOOFER SUBWOOFER
CENTERSURR SURR
MULTI CH
PRE OUT
SURR BACK SURR BACK
AM
ANTENNA
FM75
Bi-AMP
MONITOR OUT 2
/ZONE 2 OUT
AB
IR
12V TRIGGER OUT
IN
AB
OUT
V
S
MONITOR
OUT
ZONE 2
OUT
C
S VIDEO
IN
AUDIO
IN
VIDEO
IN
LR
OPTICAL
IN
b
A
a
B
VCR or DVR
DTR-7.8En.book Page 33 Friday, April 27, 2007 2:18 PM

Table of Contents

Other manuals for Integra DTR-7.8

Related product manuals