EasyManua.ls Logo

Isuzu NPR 4J Series - Generator

Isuzu NPR 4J Series
406 pages
Print Icon
To Next Page IconTo Next Page
To Next Page IconTo Next Page
To Previous Page IconTo Previous Page
To Previous Page IconTo Previous Page
Loading...
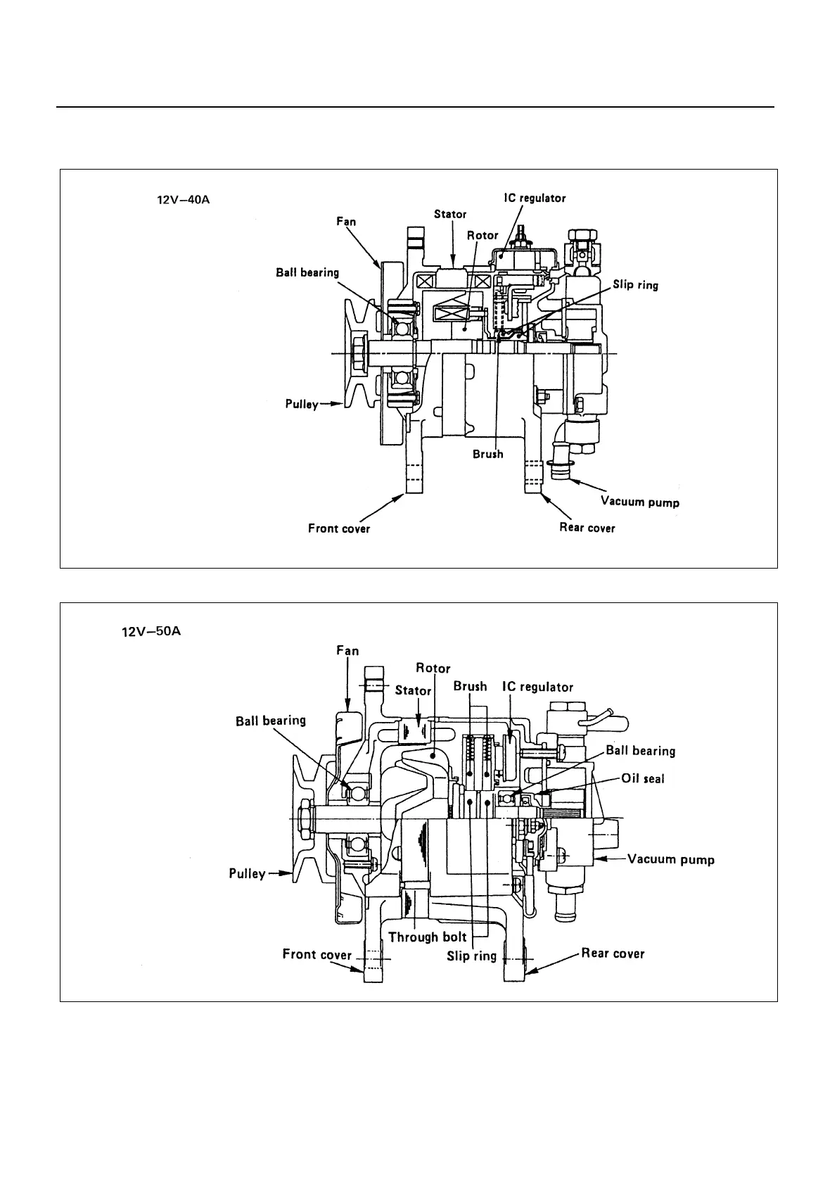
6D3 – 2 CHARGING SYSTEM
Generator
6D3-2-1.tif
6D3-2-2.tif

Table of Contents

Related product manuals