EasyManua.ls Logo

Kidde Fire Systems PEGAsys - Multi-Loop Motherboard; Input;Output Modules; 1-2.7.1 Signal Output Module; 1-2.7.2 Relay Output Module

Default Icon
156 pages
Print Icon
To Next Page IconTo Next Page
To Next Page IconTo Next Page
To Previous Page IconTo Previous Page
To Previous Page IconTo Previous Page
Loading...
1-3 August 1999
Intelligent Suppression Control/Fire Alarm System
PEGAsys
76-100016-001
The I/O motherboard mounts to standoffs on the back of the main
and expansion enclosures with screws provided.
Figure 1-6. Basic I/O Motherboard
1-2.6 Multi-Loop Motherboard
The multi-loop I/O motherboard assembly (P/N 76-100017-001)
is an assembly which can accept up to 8 RX/TX modules and
provide connections for up to 7 I/O module circuit board as-
semblies. The ML motherboard is mounted to standoffs on the
back of the main system enclosure. It distributes system 24
VDC power, CCM-RX/TX communications for up to 8 RX/TX
modules and I/O bus communications to the I/O modules. The
I/O bus communications are provided by a RJ-12 (flat phone
cable) style connection. A single RJ-12 connection connects
the ML motherboard to the CCM for RX/TX communications.
The 24 VDC is provided by the system power supply via a 2-
conductor wiring harness.
Figure 1-7. Multi-Loop I/O Motherboard
1-2.7 Input/Output Modules
The optional input/output modules allow the PEGAsys system
to interface with external auxiliary devices. These auxiliary de-
vices can be audible/visual signal devices, HVAC systems, el-
evator recall, power shut down, remote annunciators, agent/
sprinkler release system and any other control type input or
output which may need to be interfaced to the system.
The input and output modules plug into the motherboard as-
sembly located on the back plate of the system enclosure. Each
I/O module occupies one slot in the motherboard assembly which
has 8 slots available. The I/O modules and the CCM communi-
cate over the RS-485 based I/O bus, which uses a 6-conductor
phone type cable to connect the CCM to the motherboard.
The PEGAsys single-loop panel has the ability to support a
maximum of 16 I/O modules, in any combination. However, no
more than 8 of any one type of module can be used. If using a
City-Tie module, the limit is one per system.
The PEGAsys multi-Loop panel has the ability to support a maxi-
mum of 23 I/O modules, in any combination, on the system.
However, no more than 8 of any one type module can be used.
If using a City-Tie module, the limit is one per system.
The following paragraphs describe each available I/O module
in greater detail.
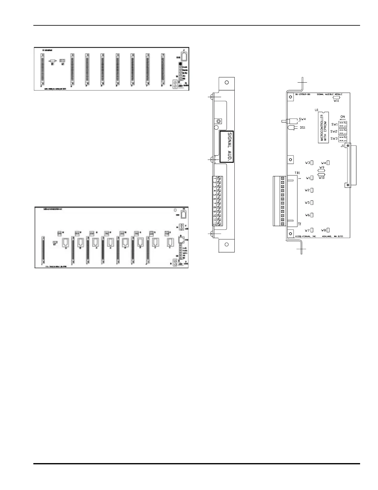
1-2.7.1 SIGNAL OUTPUT MODULE
The PEGAsys panel has the capacity for a maximum of (8) Alarm
Sounder/Signal Output cards, thus providing 32 possible sig-
nal circuits. Each Alarm Sounder/Signal Output card, Figure 1-
8, is equipped with supervised 24 VDC outputs which can
operate as Style “Y” or Style “Z” indicating circuits.
76-100003-001
Figure 1-8. Signal Output Module
1-2.7.2 RELAY OUTPUT MODULE
The PEGAsys panel has the capacity for a maximum of 8 Aux-
iliary Relay Output cards, allowing up to 32 relays. Each Auxil-
iary Relay Output card is equipped with four (4), Form C,
dry-contact relay outputs. The ability to isolate an individual relay
output is provided through the system operator menu.

Table of Contents

Related product manuals