EasyManua.ls Logo

Kollmorgen S700 Series

Kollmorgen S700 Series
206 pages
Go to English
To Next Page IconTo Next Page
To Next Page IconTo Next Page
To Previous Page IconTo Previous Page
To Previous Page IconTo Previous Page
Loading...
S700 Safety Guide | 5 Русский
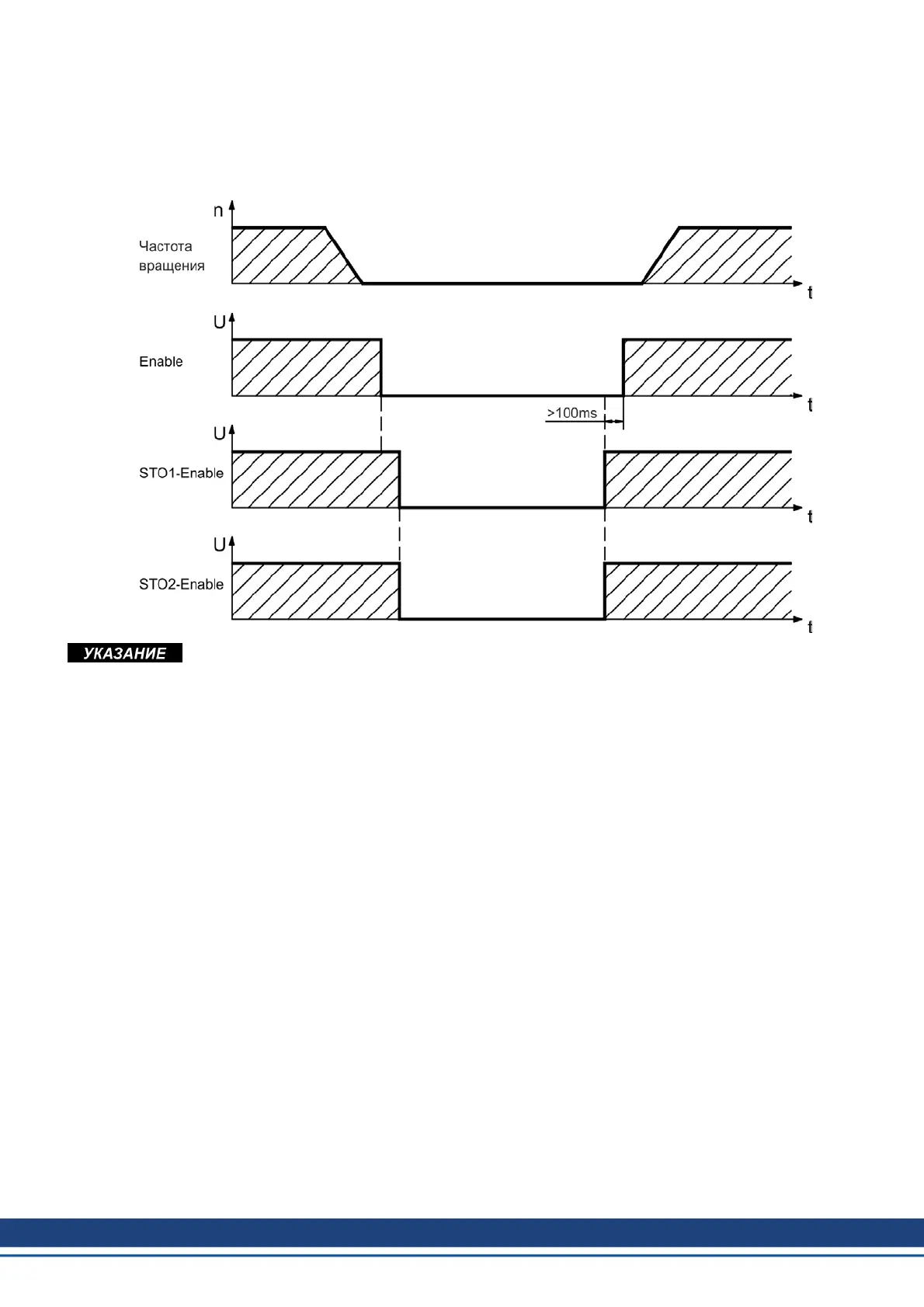
Диаграмма сигналов
Диаграмма показывает, как необходимо использовать систему блокировки запуска
STO, чтобы обеспечить надежный останов привода и безотказную работу сер-
воусилителя.
Если требуется контролируемое торможение привода, необходимо соблюдать сле-
дующую функциональную последовательность:
1. Регулируемое торможение привода (уставка частоты вращения = 0 В)
2. Блокировка сервопривода при частоте вращения = 0 об/мин (0 В на входе Enable)
3. При висящем грузе дополнительная механическая блокировка привода
4. Активация системы блокировки пуска STO (STO1-Enable и STO2-Enable = 0V)
170 Kollmorgen | wiki-kollmorgen.eu | February 2017

Table of Contents

Other manuals for Kollmorgen S700 Series

Related product manuals