EasyManua.ls Logo

Kollmorgen S700 Series

Kollmorgen S700 Series
206 pages
Go to English
To Next Page IconTo Next Page
To Next Page IconTo Next Page
To Previous Page IconTo Previous Page
To Previous Page IconTo Previous Page
Loading...
S700 Safety Guide | 5 Русский
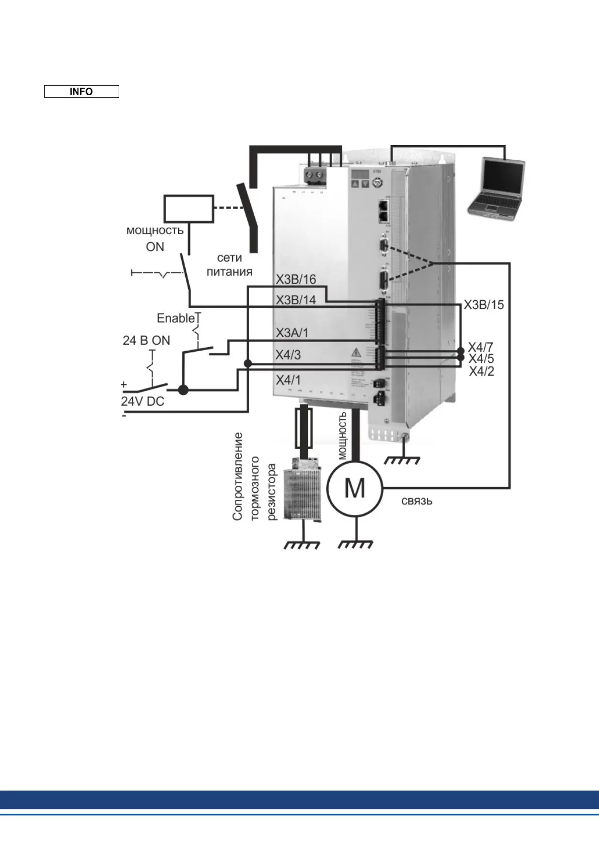
5.7.3.4 Минимально необходимая схема соединений S748...772 для быстрого тестирования
Данная схема проводных соединений не соответствует требованиям по безопасности
и работоспособности при выполнении вашей задачи. Здесь представлена только
минимально необходимая схема проводных соединений для быстрого тестирования.
178 Kollmorgen | wiki-kollmorgen.eu | February 2017

Table of Contents

Other manuals for Kollmorgen S700 Series

Related product manuals