EasyManua.ls Logo

Kollmorgen S700 Series

Kollmorgen S700 Series
206 pages
Go to English
To Next Page IconTo Next Page
To Next Page IconTo Next Page
To Previous Page IconTo Previous Page
To Previous Page IconTo Previous Page
Loading...
S700 Safety Guide | 3 Français
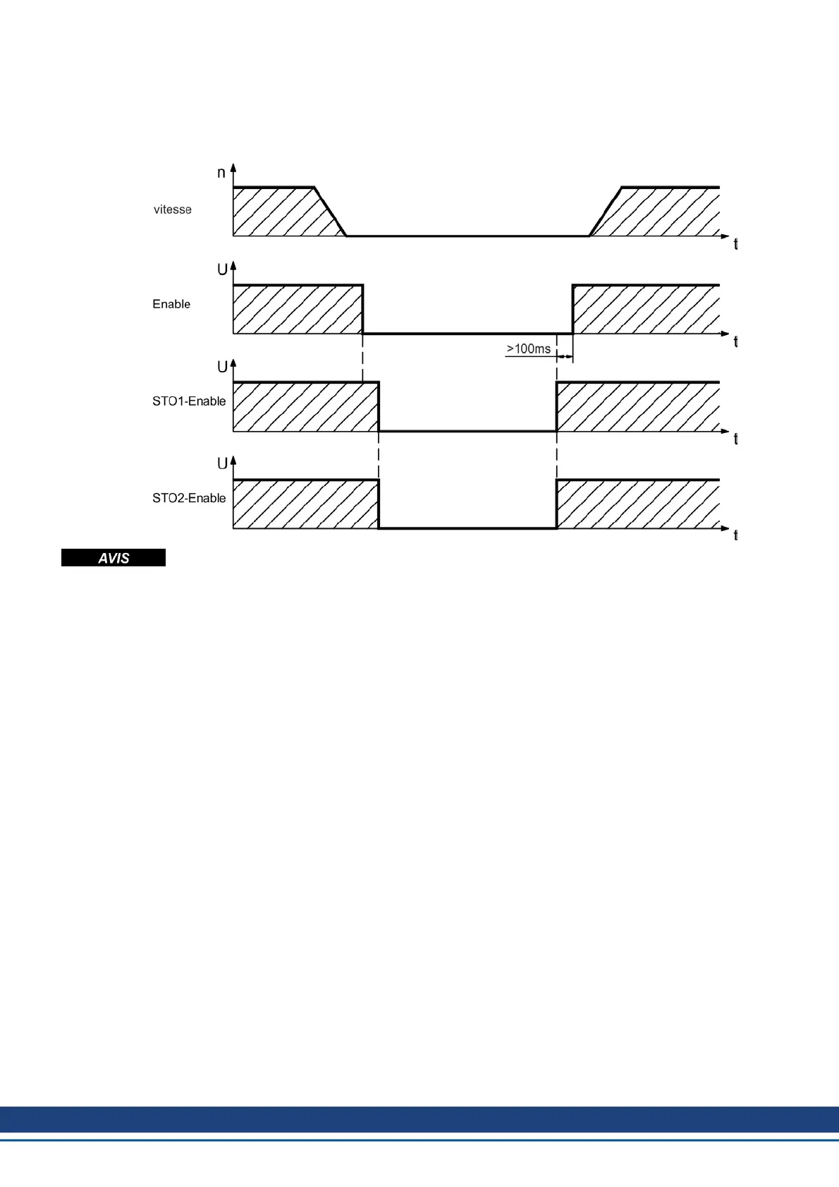
Schéma de la fonction
Le schéma montre comment la fonction STO doit être utilisée afin de garantir un arrêt en
toute sécurité de l’entraînement et un fonctionnement sans probme du variateur.
Utilisez la séquence fonctionnelle suivante en cas d'utilisation de la fonction STO de verrou
de redémarrage :
1. Ralentissez le variateur de manière contrôlée (valeur de consigne de vitesse=0V).
2. Lorsque la vitesse = 0 tr/min, désactivez le variateur (activation=0V).
3. En cas de charge suspendue, bloquez le moteur caniquement.
4. Activez la fonction STO de verrou de redémarrage (STO1-Enable et STO2-Enable = 0V).
98 Kollmorgen | wiki-kollmorgen.eu | February 2017

Table of Contents

Other manuals for Kollmorgen S700 Series

Related product manuals