EasyManua.ls Logo

LEYBOLD PhoeniXL300 - Page 103

LEYBOLD PhoeniXL300
107 pages
Print Icon
To Next Page IconTo Next Page
To Next Page IconTo Next Page
To Previous Page IconTo Previous Page
To Previous Page IconTo Previous Page
Loading...
Head
GA10218_0101 - 9/2002
104
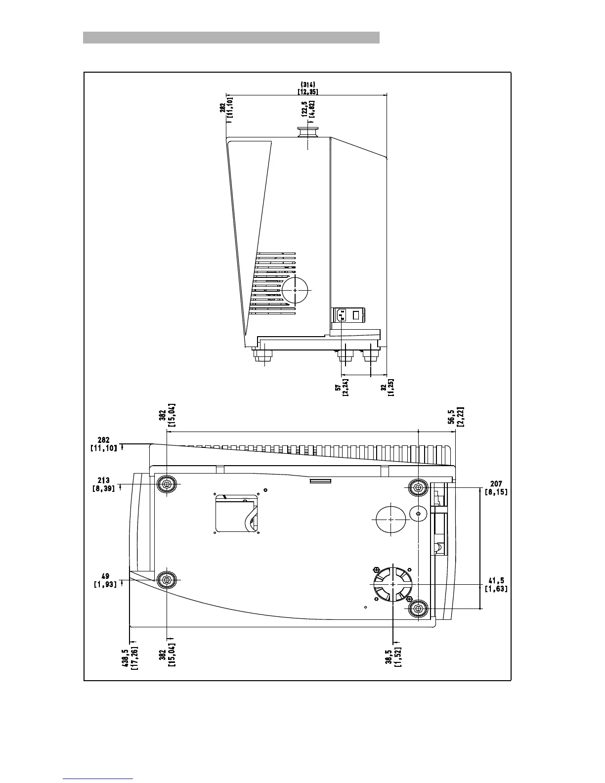
Fig. 2 Dimensions Side View
Abmessungen PhoeniXL Familie
in mm und inch. (in Klammern)
Dimensions PhoeniXL family in
mm and inches (in brackets)

Table of Contents

Related product manuals