EasyManua.ls Logo

LEYBOLD PhoeniXL300 - Page 104

LEYBOLD PhoeniXL300
107 pages
Print Icon
To Next Page IconTo Next Page
To Next Page IconTo Next Page
To Previous Page IconTo Previous Page
To Previous Page IconTo Previous Page
Loading...
Head
105
GA10218_0101 - 9/2002
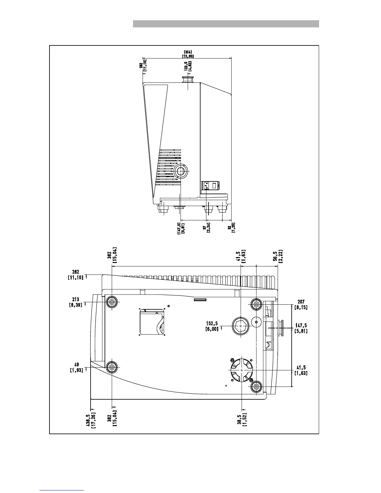
Fig. 3 Dimensions PhoeniXL
Modul
Abmessungen
PhoeniXL
300 Modul
in mm
und inch (in Klammern).
Dimensions PhoeniXL
300
Modul
in mm and inches (in
brackets).

Table of Contents

Related product manuals