EasyManua.ls Logo

MacDon FlexDraper FD135 - Centering Double Reel; Reel Fingers; Removing Steel Fingers

MacDon FlexDraper FD135
628 pages
Print Icon
To Next Page IconTo Next Page
To Next Page IconTo Next Page
To Previous Page IconTo Previous Page
To Previous Page IconTo Previous Page
Loading...
214683 507 Revision A
5.15.3 Centering Double Reel
WARNING
To avoid bodily injury or death from unexpected startup of machine, always stop engine and remove key
before making adjustments to machine.
To center the reel, follow these steps:
1. Raise the header enough to put 150 mm (6 in.) blocks under the outboard skid shoes. Lower the header slowly
to force it into a full smile.
2. Shut down the engine, and remove the key from the ignition.
1025584
A
B
B
C
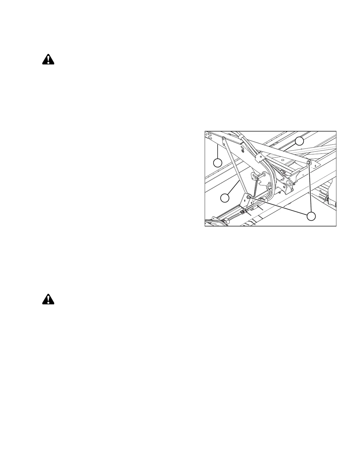
Figure 5.229: Reel Center Support Arm
3. Loosen bolt (A) on each brace (B).
4. Move forward end of reel center support arm (C)
laterally as required, to center both reels.
5. Tighten bolts (A) and torque to 359 Nm (282 lbfft).
5.15.4 Reel Fingers
IMPORTANT:
Keep the reel fingers in good condition and straighten or replace them as necessary.
Removing Steel Fingers
WARNING
To avoid bodily injury from fall of raised reel, always engage reel safety props before going under raised
reel for any reason.
IMPORTANT:
Ensure the tine tube is supported at all times to prevent damage to the tube and other components.
1. Lower the header, raise the reel, and engage the reel safety props.
2. Shut down the combine, and remove the key from the ignition.
3. Remove the tine tube bushings from the applicable tine tube at the center and left reel discs. Refer to
Removing Bushings from Five-, Six-, or Nine-Bat Reels, page 511.
MAINTENANCE AND SERVICING

Table of Contents

Related product manuals