EasyManua.ls Logo

Maple Armor FW106C - Nou

Default Icon
73 pages
Print Icon
To Next Page IconTo Next Page
To Next Page IconTo Next Page
To Previous Page IconTo Previous Page
To Previous Page IconTo Previous Page
Loading...
InstallationandOperationManual
13

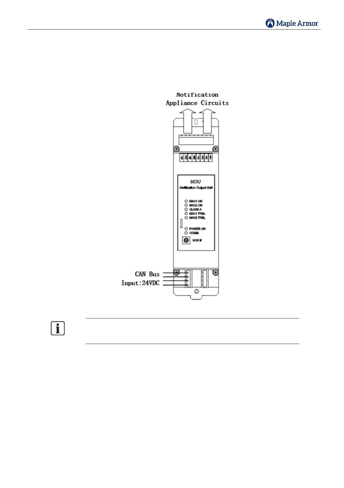
NOU
OneNOUcansupporttwoindependentnotificationappliancecircuits.
Circuittopologysupport:ClassAorClassB.
MaximumCurrent:2AperNACcircuit,4AtotalperNOU
NOUaddressissetbytherotaryswitchontheboard.Thevalidaddressrangeis1~5.
Figure
9NOU
TheNOUmustbesettoacorrectaddressbeforeuse.PleaserefertoUnitAddress
Settingsectionfordetail.


Table of Contents

Related product manuals